chaguwang.cn-查股网.中国
查股网.CN
岩山科技(002195)内幕信息消息披露
个股最新内幕信息查询:
返回查股网主页
收藏查股网(Ctrl+D键)
岩山科技分时资金
岩山科技日线资金
大盘分时DDX数据
大盘历史DDX(日线图)
基本面选股系统
主力资金流向统计
Level-2指标龙虎榜
DDX综合选股(V1)
DDX综合选股(V2)
DDX选股决策(实时)
板块资金流向(实时)
热点板块概念股票
岩山科技研究报告
岩山科技价值分析
岩山科技概念题材
岩山科技内幕消息
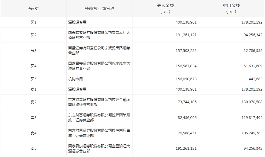
岩山科技今日涨停 深股通净买入2.22亿元
http://www.chaguwang.cn
2025-03-11
岩山科技内幕信息
来源 :人民财讯
2025-03-11
岩山科技今日涨停,成交额128.08亿元,换手率33.21%。盘后龙虎榜数据显示,深股通专用席位净买入2.22亿元,1家机构专用席位净买入1.56亿元。
查股网为非盈利性网站 本页为转载如有版权问题请联系
767871486@qq.com
或
QQ:767871486
Copyright 2007-2025
www.chaguwang.cn
查股网