chaguwang.cn-查股网.中国
查股网.CN
三变科技(002112)内幕信息消息披露
 
个股最新内幕信息查询:    
 

龙虎榜丨三变科技今日跌3.52%,知名游资赵老哥卖出1897.07万元

http://www.chaguwang.cn  2023-03-08  三变科技内幕信息

来源 :界面新闻2023-03-08

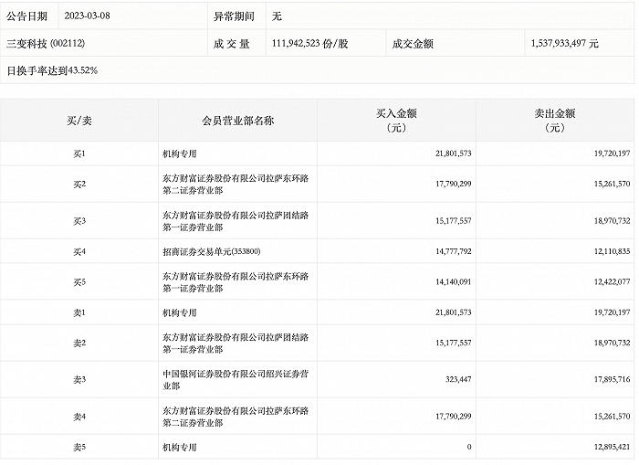
  3月8日,三变科技今日跌3.52%,龙虎榜数据显示,上榜营业部席位全天成交1.93亿元,占当日总成交金额比例为12.57%。其中,买入金额为8401.08万元,卖出金额为1.09亿元,合计净卖出2526.58万元。

  具体来看,机构买入2180.16万元,卖出3261.56万元,合计净卖出1081.4万元。此外,知名游资现身龙虎榜,东方财富证券拉萨团结路第一证券营业部、赵老哥(中国银河证券绍兴证券营业部)分别卖出1897.07万元、1789.57万元;东方财富证券拉萨东环路第二证券营业部、东方财富证券拉萨团结路第一证券营业部分别买入1779.03万元、1517.76万元。

  

有问题请联系 767871486@qq.com 商务合作广告联系 QQ:767871486
www.chaguwang.cn 查股网