来源 :财联社2023-02-21
财联社2月21日讯(编辑刘海)网红地区的城投外溢风险逐步显现。近日,保利联合化工控股集团股份有限公司(以下简称“保利联合”)发布公告,对其2022年业绩预亏进行说明,公告内直接指出,将为贵州政府平台公司计提信用减值准备9.66亿元,而保利联合2022年业绩预亏在11.55亿元-14.56亿元。
稍早,保利联合发布《保利联合化工控股集团股份有限公司计提减值准备及业绩预亏的公告》,公告内容称,预计2022年度归属于上市公司股东的净利润亏损11.55亿元~14.56亿元,同比盈转亏,归属于上市公司股东扣除非经常性损益后的净利润亏损11.58亿元~14.59亿元,同比均大幅下降。
对于业绩变动的原因,保利联合表示,首先应收账款基数大,按照公司坏账准备计提政策,账龄滚动后,长账龄账款增加,且公司应收账款客户多为贵州政府平台公司,基于贵州省地方债务风险扩大,按照会计准则要求,出于谨慎性原则,预计计提信用减值准备96,567万元。
有分析人士指出,此为城投风险外溢的案例之一,事关经营性资产的风险。相对于刚兑的债券、可能被打折扣的非标和贷款,应收账款和其他应收款,这类经营性资产出现坏账,一般也很难及时被市场所知悉。这个案例是由于区域城投当前总体情况不佳,导致自身经营性负债出现问题,进而导致债权人经营性资产出现了风险。
其次,根据行业政策及技术进步情况相关资产已无法为企业带来预期经济流入,按照会计准则要求预计计提资产减值准备3,093万元;此外,2022年原材料价格同比大幅上涨,并受政策性停产及疫情防控等因素影响,公司民爆产品产销量减少,爆破工程开工时间不足,导致利润同比减少。
中诚信国际对此表示,2022年公司业绩亏损对其净资产规模和资产负债率影响较大,具体准确的财务数据以公司正式披露的经审计后的2022年年度报告为准。
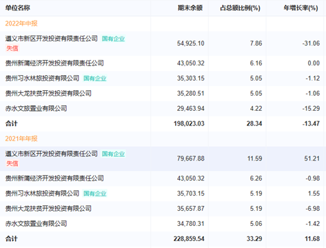
企业预警通数据显示,保利联合2022年中报及2021年年报显示该公司应收账款的前五名相同,分别为:遵义市新区开发投资有限责任公司、贵州新蒲经济开发投资有限责任公司、贵州习水林旅投资有限公司、贵州大龙扶贫开发投资有限公司、赤水文旅置业有限公司。
截至2022年年中,上述5家公司合计应收账款占比28.34%,期末余额19.80亿元。其中遵义市新区开发投资有限责任公司、贵州新蒲经济开发投资有限责任公司为城投平台。

(数据来源:企业预警通)