随着3月末的临近,中药上市公司陆陆续续开始发布2024年报。截至目前,已有十余家中药企业对外公布了2024年的经营成绩单,有人欢喜有人忧。从已披露的数据来看,整体营收呈现出明显的分化态势,头部企业如华润三九、片仔癀实现“营收+净利润双增长”表现亮眼,展现出市场波动中的发展韧性,业绩稳健提升,而部分企业则面临营收或净利润下滑的挑战。
华润三九、片仔癀领跑,老牌中药企的增长与突破
在已公布的中药企业2024年度报告中,华润三九和片仔癀凭借稳定的“双增长”表现,成功领跑市场。
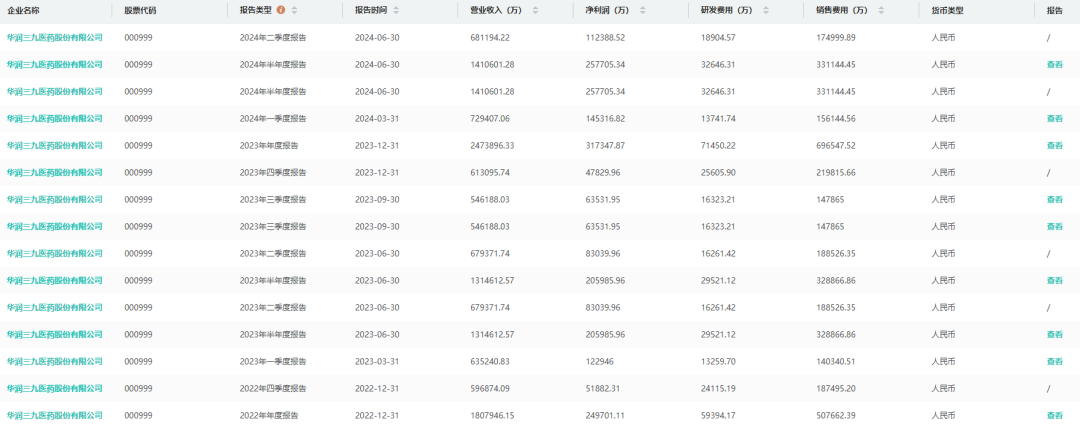
华润三九2024年实现营业收入276.17亿元,同比增长11.63%;净利润更是首次突破30亿元大关,达到33.68亿元,同比增长18.05%。从细分业务来看,自我诊疗(CHC)业务板块营收124.82亿元,在总营收中占比45.2%;处方药实现营收40.06亿元,占比21.75%;传统国药(昆药)实现营收52.13亿元,占比18.88%。
华润三九历年财报数据查询(部分)
图片来源:摩熵医药上市医药企业年报数据库
片仔癀2024年实现营业总收入107.69亿元,同比增长7.06%;净利润29.74亿元,同比增长6.32%。事实上,对于这家被誉为“药中茅台”的医药企业来说,营收与利润的双增长已是常态。据摩熵医药数据库统计显示,2018年至2021年期间,片仔癀的营业收入、净利润同比增长率均维持在双位数,营业收入同比增长率最高可达28.33%,净利润同比增长率最高可达45.46%。2022年起,其营业收入和净利润增长速度有所放缓,但也保持了积极的上升趋势。
此外,东阿阿胶也实现了营收和净利润的“双增长”。其2024年营业收入59.21亿元,同比增长25.57%;净利润15.57亿元,同比增长35.29%。从业绩增幅来看,东阿阿胶25.57%的增幅尤为抢眼。在产品构成上,最大业绩贡献的仍然是阿胶产品,阿胶及系列产品营业收入55.44亿,占比93.64%;其他药品及保健品贡献的营收约为2.36亿元,约占总营收的3.98%;毛驴养殖及销售贡献的营收约为0.69亿元,约占总营收的1.17%。
值得一提的是,从营业总收入来看,白云山以749.93亿元位居榜首,但同比下降了0.7%。其净利润更是降至28.4亿元,同比下降30.1%,成为自2018年重组以来净利润表现最为平淡的一年。
白云山旗下收入最高的明星单品枸橼酸西地那非片(即“金戈”)2024年营收为10.34亿元,同比下滑19.81%。据摩熵医药数据库显示,从2015年至2019年,“金戈”在医院端市场的销量持续攀升,并于2019年达到销售峰值7644.51万元。然而,自2020年起,“金戈”的销售量开始下滑,2021年更是出现了超过50%的大幅下降,此后市场规模一直维持在3000万元左右。

图片来源:摩熵医药全国医院销售数据库
中华老字号健民集团:营收利润双降
相比之下,中华老字号健民集团的年报则略显黯淡。3月22日发布的财报显示,健民集团2024年总营收为35.05亿元,同比下降16.81%;归母净利润大幅下降30.54%,至3.62亿元。下滑趋势在医药工业和医药商业两大板块均有所体现,其中医药工业收入17.47亿元,同比下降 19.28%,医药商业收入 17.37亿元,同比下降 13.58%。
健民集团表示,归母净利润的下滑除了受医药工业收入下降影响外,还与品牌建设、新药研发等方面的投入增加以及中药材价格上涨带来的生产成本增长有关。
从细分业务来看,儿科业务收入为 7.75亿,占营业总收入比例为22.12%,同比下降32.25%。妇科业务收入为 5.53亿,占营业总收入比例为 15.77%,同比下降3.58%。特色中药(如七蕊胃舒胶囊、便通胶囊等)业务收入为 2.60亿,占营业总收入比例为 7.41%,同比增长3.27%。
据摩熵医药销售数据显示,七蕊胃舒胶囊2024年Q1~Q3在医院端市场销售额为3225.08万元,同比增长254.58%。便通胶囊2024年Q1~Q3医院端市场销售额为3702.67万元,同比增长8.08%。


图片来源:摩熵医药全国医院销售数据库
七蕊胃舒胶囊是“1.1类中药创新药”,已成功纳入新版国家医保目录。其源自经典名方“化血丹”、“硝石矾石散”,由三七、枯矾、煅花蕊石、酒大黄组成,是外用药内服的创新性转化,填补了慢性胃炎伴糜烂的治疗空白。
喜忧参半的江中药业:营收下滑,净利润逆势增长
在健民集团之前,江中药业也交出了一份营收微降但净利润逆势增长的答卷。江中药业2024年实现营业收入44.35亿元,同比下降2.59%;归母净利润7.88亿元,同比增长9.67%。
从业务板块看,江中药业的非处方药(OTC)业务表现亮眼,营收达32.66亿元,同比增长7.07%。其中,脾胃品类10亿级核心大单品健胃消食片全年销售近1.7亿盒,创近四年最大增幅(10.9%),稳居消化类中成药市场榜首;肠道品类乳酸菌素片和双歧杆菌三联活菌肠溶胶囊(贝飞达)两大拳头产品收入均突破6亿元;咽喉咳喘品类在核心产品复方鲜竹沥液和复方草珊瑚含片的牵引下,也实现双位数增长;补益维矿品类核心产品多维元素片收入规模保持在2 亿元以上。
而与之形成对比的是,江中药业处方药、健康消费品业务的营收都出现了下滑。处方药业务实现营业收入7.93亿元,同比下降 3.50%;健康消费品业务营收为3.45亿元,同比下降47.30%,为近五年来首次下滑。