来源 :飞鱼财经2022-01-06
国元证券成2022年第一个实施撤销分支机构的券商。
券商,尤其是中小券商优化分支机构和营业网点的动作仍然在继续。
2022年元旦假期刚过,国元证券即发布公告称,决定撤销芜湖分公司。国元证券也因此成为2022年第一个实施撤销分支机构的券商。
国元证券在公告中称,为进一步优化营业网点布局,公司决定撤销芜湖分公司,将该分支机构的业务、人员等并入芜湖黄山西路证券营业部,并将原芜湖黄山西路证券营业部更名为“国元证券股份有限公司芜湖分公司”。
在这份公告中有一个值得关注的点,即国元证券作为安徽本土代表性券商,芜湖作为安徽第二大城市,但是国元证券仍然在芜湖的分支机构安排上采取了“收缩”战略。而在去年8月份,国元证券还撤销了安徽省内淮南的营业部。
不仅是省内,在省外也一样。
查阅公开信息可以看到,2020年以来,国元证券在“撤销”上动作频繁,相继撤销了天津、广州、成都、深圳等地的营业部或分支机构。
国元证券在“撤销”上的动作,基本反映了目前券商、尤其是中小券商对待分支机构和异地营业部的态度。
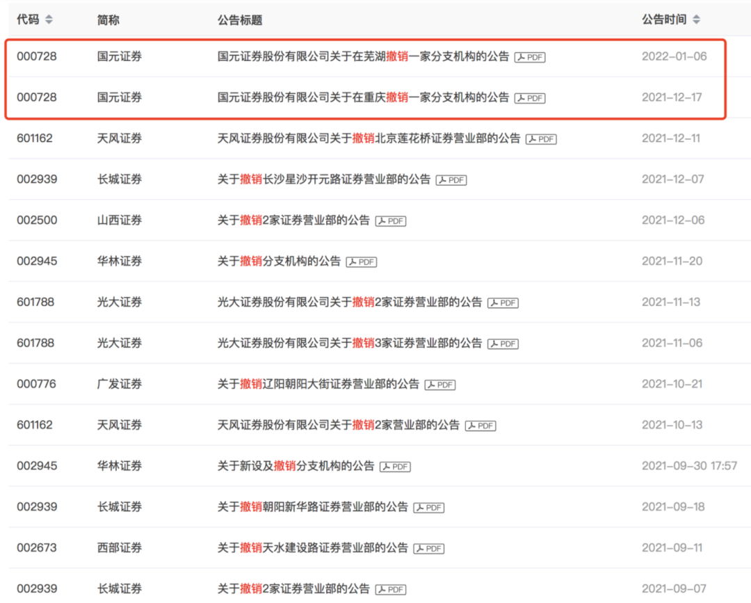
事实上,受互联网和新冠疫情双重影响,近年来券商“撤销”线下网点,积极收缩,已然成为行业现象。其中,中小券商中,如天风证券、山西证券、华林证券、西部证券、光大证券等,都是“撤销”大户。
“撤销”分支机构和营业部其实并不可怕,需要问的是在“撤销”之后,这些券商是否做好了其他渠道继续开拓相关业务的准备。比如线上的开户和交易服务、继续异地拓展业务的可能等,否则对于大部分中小券商来说,越收缩发展的空间越小,未来能够参与市场竞争的能力越弱。
国元证券2021三季报显示,2021年1月1日-2021年9月30日,公司实现营业收入37.08亿元,同比增长4.96%,净利润13.26亿元,同比增长22.74%,基本每股收益为0.30元。报告期内,公司期末资产总计为1095.78亿元,营业利润为16.86亿元,经营活动产生的现金流量净额为-17.03亿元。

(根据巨潮网,近期券商撤销分支机构或营业部公告)