chaguwang.cn-查股网.中国
查股网.CN
西安饮食(000721)内幕信息消息披露
 
个股最新内幕信息查询:    
 

龙虎榜丨西安饮食今日涨停,知名游资现身龙虎榜,方新侠净买入2967.5万元

http://www.chaguwang.cn  2023-07-20  西安饮食内幕信息

来源 :界面新闻2023-07-20

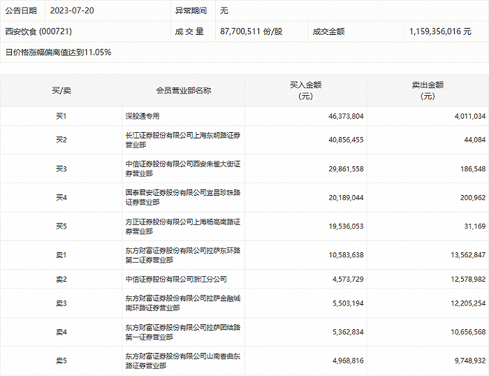
  7月20日,西安饮食今日涨停,龙虎榜数据显示,上榜营业部席位全天成交2.51亿元,占当日总成交金额比例为21.65%。其中,买入金额为1.88亿元,卖出金额为6322.64万元,合计净买入1.25亿元。

  具体来看,知名游资现身龙虎榜,方新侠(中信证券股份有限公司西安朱雀大街证券营业部)净买入2967.50万元。此外,深股通专用、长江证券上海东明路证券营业部分别买入4637.38万元、4085.65万元;东方财富证券拉萨东环路第二证券营业部、中信证券浙江分公司分别卖出1356.28万元、1257.90万元。

  

有问题请联系 767871486@qq.com 商务合作广告联系 QQ:767871486
www.chaguwang.cn 查股网