换位还是削权?老牌头部券商的谜团

券业行家,事实说话。
岁末倒计时,连发人事调整公告的老牌头部券商申万宏源(000166.SZ),让行家有些看不懂。


人事变动连发公告
12月以来,申万宏源集团股份有限公司(简称:申万宏源)连续发布人事相关公告。

12月26日,申万宏源公告称,葛蓉蓉女士因工作安排原因,申请辞去第五届董事会董事、董事会风险控制委员会主任委员及董事会战略委员会委员职务,辞职后不再担任职务。申万宏源董事会对葛蓉蓉女士在担任公司董事期间为公司发展做出的积极贡献,表示衷心感谢。

公开信息显示,葛蓉蓉女士生于1968年,早年曾在大鹏证券和证监会任职。她自2005年起在股东方中央汇金投资有限责任公司(简称:中央汇金)任职多年;2019年3月起任申万宏源非执行董事。
稍早之前,申万宏源第五届董事会第十四次会议提名邵亚楼先生为公司第五届董事会董事候选人,将于12月29日召开2022年第二次临时股东大会,审议董事选举事项。邵亚楼同样由股东方中央汇金提名,待股东大会通过后正式履职。
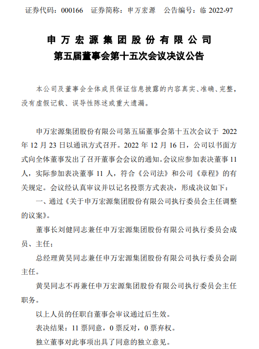
而在12月23日,申万宏源第五届董事会第十五次会议审议通过《执行委员会主任调整的议案》,对执委会进行了调整:董事长刘健同志兼任申万宏源执行委员会成员、主任;总经理黄昊同志兼任执行委员会副主任,不再兼任执行委员会主任职务。

正是这一起人事调整,让行家颇有些意外。

将帅分工存在差异
公开信息显示,黄昊生于1973年,早年曾在国家外汇管理局任职;自2005年2月至2020年11月任职于中央汇金;其中2005年9月至2013年1月担任国泰君安董事,2020年2月至2020年12月兼任中金公司非执行董事。2020年12月起任申万宏源总经理;自2021年5月担任申万宏源执行董事、执行委员会成员及主任。
董事长刘健同样生于1973年,拥有经济学博士学历。他早年曾在中国人民银行非银行金融机构管理司工作;自1998年6月至2007年4月任职于证监会;2007年4月起相继在中央汇金、中国投资有限责任公司,财政部等机构任职。在证券行业,他自2022年7月担任申万宏源和申万宏源证券党委书记;自2022年8月担任申万宏源董事长;自2022年9月担任申万宏源证券董事长;自2022年12月兼任申万宏源证券执行委员会主任。
行家查看了申万宏源年报,2021年5月申万宏源实施执委会制度,黄昊当选首任执委会主任。执委会成员还有时任副总经理兼财务总监任全胜女士,总经理助理刘跃先生。在当选执委会委员后,两位高管分别卸任了副总经理和总经理助理职务。
2021年5月,申万宏源修订的《公司章程》提及,执委会主任由董事长或总经理担任。执委会实行一人一票,少数服从多数;执委会主任具有一票否决权,但无权否决执委会已否决的议案。

与申万宏源此前实行的总经理负责制对比,新的架构由个人负责改为集体负责——某种意义上说,这是削弱了总经理的职权。
而本次总经理黄昊由执委会主任“正职”改为“副职”;今年9月履新的董事长刘健,兼任执委会主任。这是否意味着,申万宏源的“将帅”分工有了新的调整?

头部同行五五开
鉴于2021年度申万宏源净利润排名行业第11位,行家查看了券商十强的架构:实行执委会制度的头部券商,占比正好是“五五开”。
中信证券最早实行执委会制度,目前执委会委员和总经理并行,并且未见设置执委会主任职务。
华泰证券周易任执委会主任、首席执行官;董事长张伟未兼任执委会委员。高管名单中,合规总监、首席风险官、首席财务官未列名执委会。
中信建投总经理李格平为执委会委员;董事长王常青为执委会主任,多位执委会委员也没有具体任职。
中国银河董事长陈亮兼任执委会主任;总裁王晟为执委会副主任。业务总监、合规总监兼首席风险官,副总裁兼财务负责人等高管同时也是执委会成员。
中金公司的高管职务名称有所不同,为“管理委员会”。首席执行官、执行董事黄朝晖任管理委员会主席,董事长沈如军同样未出现在管委会中。管委会中有多位成员的头衔为“管理委员会成员”,但并没有公布具体的高管职务。
同样是头部券商,国泰君安、海通证券、招商证券、广发证券和国信证券,五家券商目前仍是“一正N副”的架构。
行家对公司治理了解不多,但也知道,组织架构设置应符合公司情况,并需要不断调整创新。
值得一提的是,申万宏源旗下“主力”——申万宏源证券,高管团队格局也有不同。
据中证协公示,申万宏源证券执行委员会有8名成员,总经理杨玉成同时是申万宏源证券执行委员会主任;而申万宏源证券董事长刘健,合规总监毛宗平,首席信息官谢晨,均不在执委会中。


合规管理仍待提高
行家注意到,申万宏源其实并没有列出合规管理的专职高管。而申万宏源证券的合规总监,今年年中“换人”。
这可能是“事出有因”。
略翻2021年报和2022年中报,申万宏源列出了多达8起主要的监管事项。

今年4月,因与蚂蚁财富(上海)金融信息服务有限公司(简称:蚂蚁财富)合作开展线上投顾业务时存在多项违规,时任申万宏源证券执行委员会成员、财富管理事业部总经理房庆利被上海证监局约谈。首席信息官谢晨也被监管警示。

其后,申万宏源证券发布公告称,总经理杨玉成自2022年5月6日起不再代行合规总监职务,由毛宗平任申万宏源证券合规总监。同一天,执行委员会成员房庆利因工作安排原因离任。
据任命公告,毛宗平为申万宏源证券法律合规总部党支部书记、总经理,申万宏源和申万宏源证券纪委委员,申万宏源证券承销保荐有限责任公司(简称:申万投行)监事,申万宏源证券高级董事总经理,合规总监。

从时间节点上看,申万宏源或许痛定思痛,加强了合规管理事项。
行家深切的希望,申万宏源能成为头部券商的表率,在专注业绩的同时,避免因合规问题受到“非议”。