
中证智能财讯中金岭南(000060)4月10日披露2022年年度报告。2022年,公司实现营业总收入554.37亿元,同比增长24.58%;归母净利润12.12亿元,同比增长3.47%;扣非净利润11.73亿元,同比增长10.91%;经营活动产生的现金流量净额为10.81亿元,同比下降38.85%;报告期内,中金岭南基本每股收益为0.33元,加权平均净资产收益率为8.61%。公司2022年度分配预案为:拟向全体股东每10股派1元(含税)。
数据统计显示,中金岭南近三年营业总收入复合增长率为34.40%,近三年净利润复合年增长率为12.47%。

公司主要从事铅锌铜等有色金属的采矿、选矿、冶炼和深加工一体化生产、贸易、金融、期货经纪及投资业务。
分产品来看,2022年度公司主营业务中,有色金属贸易业务收入441.73亿元,同比增长25.84%,占营业收入的79.68%;冶炼产品收入71.35亿元,同比增长16.68%,占营业收入的12.87%;精矿产品收入29.14亿元,同比下降12.65%,占营业收入的5.26%。

2022年,公司毛利率为5.11%,同比下降0.85个百分点;净利率为2.23%,较上年同期下降0.52个百分点。

分产品看,有色金属贸易业务、冶炼产品、精矿产品2022年毛利率分别为0.08%、20.73%、32.29%。

报告期内,公司前五大客户合计销售金额223.61亿元,占总销售金额比例为40.34%,公司前五名供应商合计采购金额235.14亿元,占年度采购总额比例为41.24%。


数据显示,2022年公司加权平均净资产收益率为8.61%,较上年同期下降0.75个百分点;公司2022年投入资本回报率为5.60%,较上年同期下降0.61个百分点。

截至2022年末,公司经营活动现金流净额为10.81亿元,同比下降38.85%;筹资活动现金流净额25.15亿元,同比增长55.51%;投资活动现金流净额-23.72亿元,上年同期为-32.48亿元。
进一步统计发现,2022年公司自由现金流为-8.31亿元,上年同期为-24.35亿元。

2022年,公司营业收入现金比为76.26%,净现比为89.15%。

营运能力方面,2022年,公司总资产周转率为1.84次,上年同期为1.71次(2021年行业平均值为1.04次,公司位居同行业5/14);固定资产周转率为5.83次,上年同期为5.92次(2021年行业平均值为2.86次,公司位居同行业4/14);公司应收账款周转率、存货周转率分别为84.59次、17.81次。

2022年全年,公司期间费用为11.52亿元,较上年减少4336.54万元;期间费用率为2.08%,较上年同期下降0.61个百分点。其中,销售费用同比增长2.37%,管理费用同比下降2.35%,研发费用同比增长8.51%,财务费用同比下降40.62%。
根据公告,财务费用的变动主要因为本年汇兑收益增加。

资产重大变化方面,截至2022年末,公司固定资产较上年末增加45.93%,占公司总资产比重上升6.55个百分点;在建工程较上年末减少15.30%,占公司总资产比重下降4.65个百分点;货币资金较上年末增加74.07%,占公司总资产比重上升3.04个百分点;存货较上年末增加44.95%,占公司总资产比重上升1.96个百分点。

负债重大变化方面,截至2022年末,公司短期借款较上年末增加41.27%,占公司总资产比重上升2.67个百分点;应付债券较上年末减少8.51%,占公司总资产比重下降2.47个百分点;一年内到期的非流动负债较上年末增加128.32%,占公司总资产比重上升2.08个百分点;长期借款较上年末增加50.70%,占公司总资产比重上升1.62个百分点。


2022年全年,公司研发投入金额为3.85亿元,同比增长8.51%;研发投入占营业收入比例为0.70%,相比上年同期下降0.10个百分点。此外,公司全年研发投入资本化率为0。

在偿债能力方面,公司2022年末资产负债率为53.16%,相比上年同期上升3.02个百分点;有息资产负债率为36.67%,相比上年同期上升3.91个百分点。

2022年,公司流动比率为1.01,速动比率为0.66。

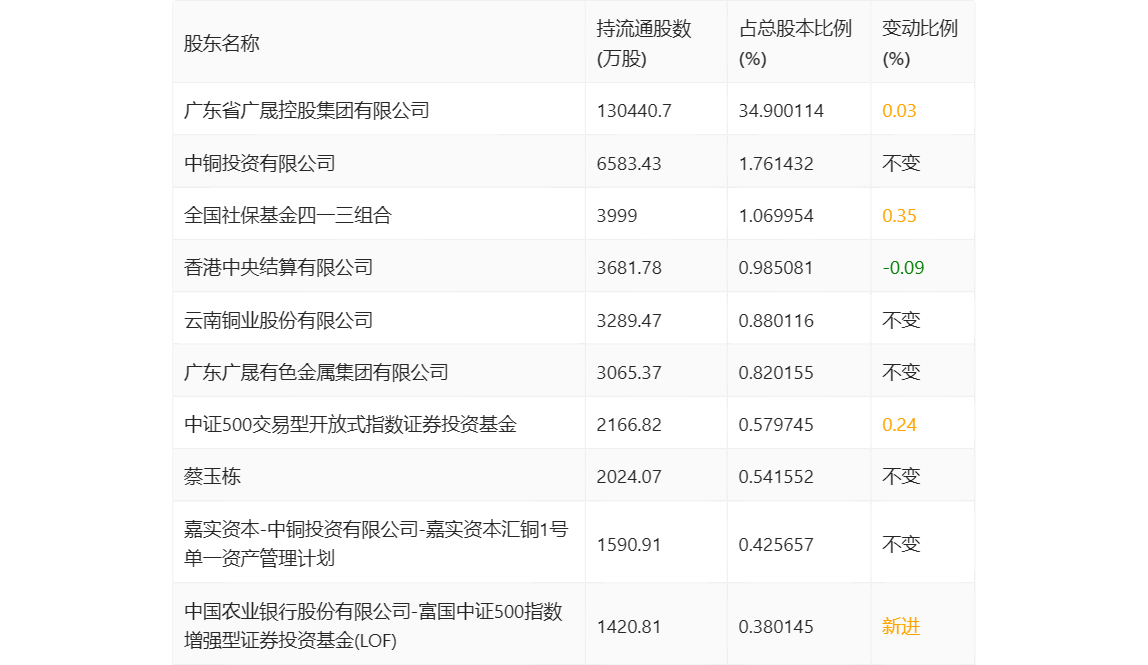
年报显示,2022年末公司十大流通股东中,新进股东为中国农业银行股份有限公司-富国中证500指数增强型证券投资基金(LOF),取代了此前的交银施罗德趋势优先混合型证券投资基金。在具体持股比例上,广东省广晟控股集团有限公司、全国社保基金四一三组合、中证500交易型开放式指数证券投资基金持股有所上升,香港中央结算有限公司持股有所下降。

筹码集中度方面,截至2022年末,公司股东总户数为14.83万户,较三季度末下降了934户,降幅0.63%;户均持股市值由三季度末的10.32万元上升至10.33万元,增幅为0.10%。