来源 :银柿财经2023-07-18
7月17日傍晚,美丽生态(000010.SZ)突发公告称,公司控股子公司参与建设的遵义南溪大道项目处于停工状态,可能造成公司资金短缺、收入不达预期等情形,对公司生产经营产生较大影响。
据悉,2018年8月,美丽生态的控股子公司——福建美丽生态建设集团有限公司(以下简称:福建美丽生态)与五矿二十三冶建设集团有限公司(以下简称:五矿二十三冶)签署了《遵义市南溪大道建设项目(K0+000-K3+000、K4+380-K5+480(里程标段)段专业分包合同》,彼时,合同金额暂定为18.70亿元。美丽生态表示,受总体宏观环境较差、项目方融资进度未达预期等因素的影响,上述项目施工进展缓慢,基本上处于停工状态。
事实上,遵义南溪大道项目的停滞从美丽生态的年报中也能管窥一二。截至2020年底,美丽生态在该项目上累计确认收入已达到10.33亿元,而到了2023年3月底,这一数值仅增长至10.42亿元。美丽生态2022年年报显示,公司当年在南溪大道项目上确认的收入仅100余万元。
南溪大道项目的停工,让美丽生态应收账款能否收回,也平添了一丝阴云。截至2022年末,美丽生态对该项目的应收账款余额高达8.46亿元。在应收账款之外,美丽生态还有3.3亿元投向南粤南溪大道1号私募投资基金,据了解,该基金是专门为南溪大道项目而发起设立。
对于南溪大道项目应收账款的安全性,以及公司对南粤南溪大道1号私募投资基金的投资能否收回等问题,银柿财经向美丽生态方面发送了采访函,截至发稿,尚未收到回应。
美丽生态此前的公告显示,上述基金的单一投资标的为遵义佳融项目管理有限公司(以下简称:遵义佳融)股权,据了解,遵义佳融系南溪大道项目社会资本方五矿二十三冶与股权投资人湖南南粤基金管理有限公司(以下简称:南粤基金)等共同发起设立,该公司专门负责南溪大道项目相关设施的设计、投资、融资、建设和运营维护
南粤基金、五矿二十三冶各自持有遵义佳融60%、30%股权,剩余10%股权由遵义国资旗下的遵义市湘江投资(集团)有限公司持有(以下简称:湘江投资)。不过,湘江投资目前已成失信被执行人。
美丽生态是分两笔投资上述基金。2018年5月份,彼时公司名尚为“福建省隧道工程有限公司”的福建美丽生态率先认购6100万元,当年10月份,美丽生态继续认购2.7亿元。值得一提的是,在第二次认购之时,公司时任董事丁熊秀曾投弃权票,彼时,其弃权理由有三条,其一,是购买基金的没有相应的保障措施;其二,基金存续期是20年,隧道公司没有约定赎回时间及赎回保证措施;其三,隧道公司无权召开基金份额持有大会,时间长,风险大。在投出弃权票一个月后,丁熊秀因个人原因辞去了公司董事、副总经理职务。
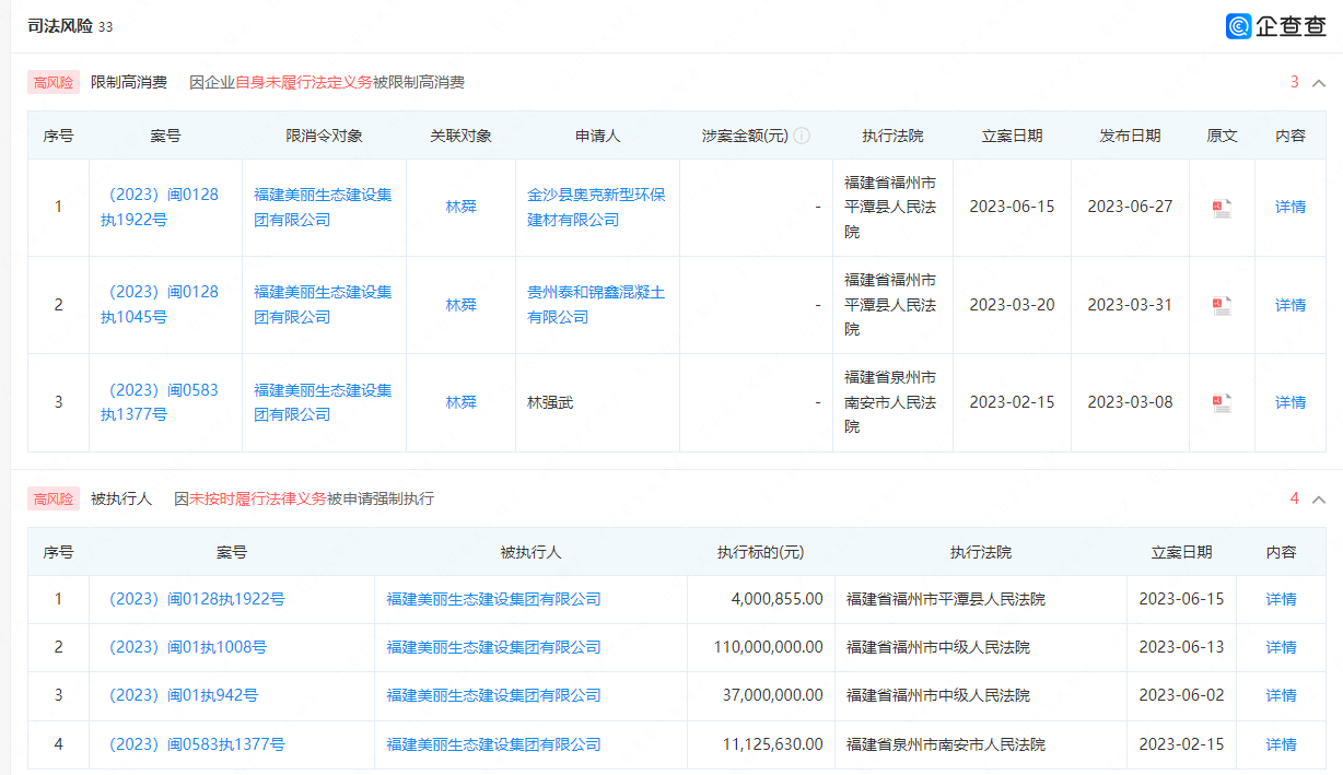
南溪大道项目的停滞,或让丁熊秀的担忧成真。另一方面,上市公司的日子同样并不好过。企查查显示,2023年6月以来,美丽生态曾3次成为被执行人。其控股子公司福建美丽生态更是成为了失信被执行人,2023年以来,福建美丽生态曾收到3份限制消费令,申请人分别为金沙县奥克新型环保建材有限公司、贵州泰和锦鑫混凝土有限公司和林强武。

今年上半年,美丽生态的业绩预告显示由盈转亏,归母净利润预亏1.05亿元~1.55亿元,上年同期盈利942.09万元。美丽生态称,公司业绩变动的主要原因是,受国内建筑行业板块大环境影响,整个建筑行业形势仍不乐观,公司部分在建项目推进进度受影响,以及新订单落地放缓。同时,主要客户未能按期支付工程款项,应收账款回款速度较大程度减弱,导致应计提的资产减值准备大幅增加。