chaguwang.cn-查股网.中国
查股网.CN

主力资金流向&北向资金流向分析

 
沪深个股板块DDE历史数据查询:    
 

数据复盘丨主力资金加仓汽车、石油石化等行业 北向资金连续5日净卖出

http://chaguwang.cn  07-30 06:58  查股网新闻中心

  7月29日,上证指数早盘探底回升,随后回落,之后窄幅震荡;深证成指、创业板指全天震荡走低;科创50指数早盘震荡走低,午后持续下探。截至收盘,上证指数报2891.85点,涨0.03%,成交额2600.95亿元;深证成指报8514.65点,跌0.96%,成交额3258.45亿元;创业板指报1635.67点,跌1.44%,成交额1572.47亿元;科创50指数报707.60点,跌1.7%,成交额347.96亿元。沪深两市合计成交5859.4亿元,成交额较上一交易日减少201.69亿元。

  资金流向

  1.主力资金

  Wind统计显示,沪深两市主力资金今日净流出50.53亿元。其中,创业板主力资金净流出22.94亿元,沪深300成份股主力资金净流出37.22亿元,科创板主力资金净流出22.94亿元。

  从行业来看,申万所属的31个一级行业,今日有11个行业主力资金呈现净流入,其中,汽车行业主力资金净流入最多,净流入金额为6.79亿元;行业主力资金净流入居前的还有石油石化、交通运输、家用电器,净流入金额分别为3.09亿元、2.89亿元、2.34亿元。20个行业主力资金呈现净流出,其中,电力设备行业主力资金净流出最多,净流出金额为20.7亿元;行业主力资金净流出靠前的还有食品饮料、非银金融、机械设备、医药生物、计算机,净流出金额分别为10.3亿元、10.18亿元、5.48亿元、5.33亿元、3.8亿元。

  个股来看,今日有2012只个股获主力资金净流入,其中,14股获主力资金净流入超1亿元。万丰奥威(维权)(002085)主力资金净流入最多,净流入金额为3.88亿元;主力资金净流入居前的个股还有金溢科技(002869)、赛力斯中信海直(000099)、罗博特科(300757)、锦江在线,净流入金额分别为3.09亿元、2.78亿元、2.37亿元、2.14亿元、1.92亿元。

  此外,3013只个股被主力资金净卖出,其中,15股被主力资金净卖出超1亿元。主力资金净流出最多的个股是宁德时代(300750),净流出金额为5.72亿元;主力资金净流出居前的个股还有贵州茅台(600519)、中信证券(600030)、五粮液(000858)、寒武纪中芯国际,净流出金额分别为3.35亿元、2.16亿元、2.15亿元、1.99亿元、1.98亿元。

  2.北向资金

  北向资金今日成交额为941.72亿元,成交净卖出49.85亿元,连续5个交易日净卖出。其中,沪股通净卖出18.45亿元,深股通净卖出31.4亿元。

  活跃个股方面,北向资金今日净买入较多的有工商银行长江电力(600900)、寒武纪、中际旭创(300308)、福耀玻璃(600660),净买入金额分别为2.18亿元、1.85亿元、1.42亿元、1.19亿元、0.77亿元。北向资金净卖出较多的有贵州茅台(600519)、宁德时代、潍柴动力工业富联(601138)、中远海控(601919),净卖出金额分别为5.72亿元、2.57亿元、1.91亿元、1.89亿元、1.74亿元。

  3.龙虎榜机构资金动向

  盘后龙虎榜数据显示,今日机构席位资金合计净卖出约1266.45万元。其中,净买入的个股13只,净卖出的个股7只。机构净买入最多的股票是金溢科技,净买入金额约1.21亿元;机构净买入居前的还有罗博特科、中信海直、双乐股份等股。机构净卖出最多的股票是昆药集团(600422),净卖出金额约1.63亿元;机构净卖出居前的还有广和通(300638)、润贝航科等股。

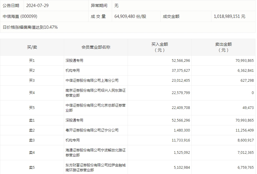
  中信海直今天涨停。盘后数据显示,2家机构出现在龙虎榜单上,合计净买入3414.58万元;中信证券股份有限公司上海分公司买入2301.24万元,同时卖出62.73万元;粤开证券股份有限公司辽宁分公司买入148.03万元,同时卖出1125.64万元。

  个股涨跌情况

  截至收盘,沪深两市合计2281只个股上涨,2567只个股下跌,平盘个股235只,停牌的个股23只。不含当日上市新股,共有76只个股涨停,4只个股跌停。连续涨停天数看,国中水务(600187)、腾达科技均已连收6个涨停板,连续涨停板数量最多。

  从收盘涨停板封单量来看,山子高科最受追捧,收盘涨停板封单有1.32亿股;其次是大众公用(600635)、华东重机(002685),涨停板封单分别有3626.24万股、3021.98万股。以封单金额计算,启明信息(002232)、金龙汽车(600686)、大众交通(600611)等涨停板封单资金较多,分别有2.77亿元、2.44亿元、2.22亿元。

  行业板块、概念方面看,行业板块、概念涨多跌少。其中,银行、建筑装饰、保险、通信、国防军工、石油石化、教育、计算机等行业涨幅靠前;汽车拆解、发电机、数字货币、商业航天、北斗导航、财税数字化、低空经济、生物识别等概念走势活跃。电力设备、食品饮料、建筑材料、美容护理、房地产、医药生物等行业跌幅居前;青蒿素、鸡肉概念、锂矿概念、维生素、钙钛矿电池、重组蛋白等概念走势较弱。涨停个股主要集中在电子、机械设备、汽车、计算机、国防军工等行业。

有问题请联系 767871486@qq.com 商务合作广告联系 QQ:767871486
查股网以"免费 简单 客观 实用"为原则,致力于为广大股民提供最有价值和实用的股票数据作参考!
Copyright 2007-2023
www.chaguwang.cn 查股网