每经记者 刘明涛 每经编辑 彭水萍
今日上午,港股医药板块表现强势,不论是港股创新药ETF还是港股医药ETF半日涨幅均在2%以上,其中,港股创新药ETF(513120)半日成交金额更是达到10.72亿元。
从投资逻辑来看,政策导向下,中国创新药持续产业升级,正从“量变”时代迈向“质变”时代。创新药供给端规模直追国际领先水平,研发重心也逐渐向“First-in-Class”“Best-in-Class”倾斜。此外,支付端和供应端相得益彰,推动创新成果商业化加速。近年多条利好创新药的医保谈判细则陆续出台,医保支持下创新药的商业化进程有望迎来持续提速。
而港股相比A股存在显著折价,投资性价比突出。港股相比A股折价处于历史高点,投资价值凸现。
点评:港股创新药ETF(159567)和港股通创新药ETF(159570)今日上午涨幅分别为2.82%和2.69%,其中,港股通创新药ETF(159570)规模相对较大,达到2.12亿份,其半日成交3183万元。上述两只ETF追踪的是国证港股通创新药指数。
国证港股通创新药指数(987018.CNI)在香港市场中选取具备互联互通标的资格、公司业务涉及创新药研发、生产等领域的生物医药公司作为指数样本,反映港股通创新药产业上市公司的运行特征。指数全面覆盖创新药产业,其他生物制品和化学制剂权重占比高。目前,该指数估值处于历史低位,投资性价比较高。

国证港股通创新药指数重仓股
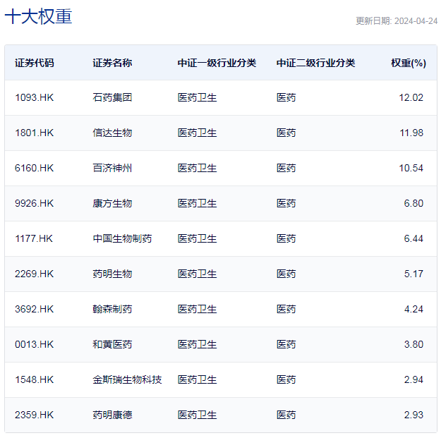
点评:港股创新药ETF(513120)今日上午涨幅为2.41%,该ETF规模高达90.52亿份,半日成交金额达到10.72亿元,该ETF追踪的是中证香港创新药指数。
中证香港创新药指数在香港市场中选取不超过50家主营业务涉及创新药研发的上市公司证券作为指数样本,以反映香港市场创新药主题上市公司证券的整体表现。

中证香港创新药指数重仓股
点评:港股通医药ETF(513200)半日涨幅也达到2.25%,该ETF规模为19.35亿份,半日成交金额为6374万元。该ETF追踪的是中证港股通医药卫生综合指数。追踪该指数的ETF还有香港医药ETF(513700)、港股通医药ETF(159776)等。
中证港股通医药卫生综合指数从港股通范围内选取50只流动性较好、市值较大的医疗卫生行业上市公司证券作为指数样本,以反映港股通范围内医药卫生上市公司证券的整体表现。

中证港股通医药卫生综合指数重仓股
(来源于:查股网)>>