chaguwang.cn-查股网.中国
查股网.CN

大盘走势&资金动向&盘面分析

 
沪深个股板块DDE历史数据查询:    
 

47.46%!3月以来北交所涨幅第一竟是它,还有18只股票涨幅超10%......

http://chaguwang.cn  03-18 22:55  查股网新闻中心

  今天北证50温和上涨,部分个股明显异动,方盛股份、威贸电子和德众汽车涨幅均超过10%。其中,德众汽车近日持续走强,3月以来累计涨幅达47.46%,居北交所第一。

  事实上,北交所二级市场近期有所回暖。Wind的统计显示,3月以来,总共有19只股票累计涨幅超过10%。申万宏源认为,本轮A股自2月6日反弹以来,北证明显跑输市场,相对创业板的折价率从9.4%回到了20%上方,市场轮动一圈之后,北证有一定补涨的需求。

  德众汽车3月以来涨超47%

  3月18日,德众汽车发布股票交易异常波动公告,公司股票最近2个有成交的交易日(2024年3月15日、2024年3月18日)以内收盘价涨幅偏离值累计达到41.56%,属于股票异常交易波动情形。

  德众汽车表示,已对此进行关注并核实,结果显示前期公告的事项不存在需要更正、补充之处,或取得重大进展或变化;未发现可能或已经对本公司股票交易价格产生较大影响的媒体报道或市场传闻,不涉及热点概念事项;近期公司经营情况及内外部经营环境未发生重大变化等。

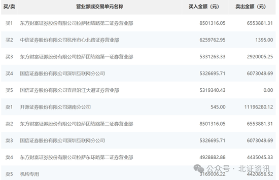
  作为汽车拆解概念股,德众汽车在3月14日开始大涨9.48%,随后在3月15日强势涨停,今天盘中一度冲高超(金麒麟分析师)20%,随后回落,收盘涨12.26%,换手率达43.70%。盘后德众汽车登上龙虎榜,其成交金额3.56亿元,买一席位为东方财富证券股份有限公司拉萨团结路第二证券营业部,买入850.13万元;卖一席位为开源证券股份有限公司湖南分公司,卖出1119.63万元。有机构席位在买入316.90万元的同时卖出442.09万元。此前在3月14日,有机构作为买一,吸纳了299.66万元。

  值得一提的是,3月13日,德众汽车公告于3月11日接受机构调研,参与的机构包括红塔证券、嘉实基金、工银国际控股有限公司、深圳正圆投资有限公司、朵娜创梦投资管理、长城财富资管、青岛幂加和私募、申万菱信基金等,包括8家基金、3家券商、3家投资公司、1家其他机构。

  德众汽车表示,公司将根据发展战略规划,从以下几个方面进一步开拓市场:一是继续拓展新能源汽车市场业务;二是进一步巩固和发展汽车循环经济、再生资源利用;三是投资和拓展新能源汽车动力电池综合利用业务。

  公司介绍,提供的服务包括整车销售服务及售后服务,业务范围涵盖整车销售、售后维保、 零配件销售、精品销售等。针对不同的客户群体,公司拥有多个知名汽车品牌的经销、服务授权,豪华 品牌有宝马、凯迪拉克、沃尔沃;合资品牌有上汽大众、一汽大众、别克、雪佛 兰、东风本田;国产品牌有广汽传祺、领克;新能源品牌有哈弗新能源、小鹏、 长城欧拉、ITO、极狐、哪吒、广汽埃安、岚图、理想(授权钣喷中心),涵盖了不同档次、不同车系、不同品牌,针对有不同喜好和不同购买力的消费者提 供了多样化的购买选择,既能抵御单个品牌经营的风险,又能充分占领市场。 

  德众汽车表示,公司未来将继续以高端豪华汽车品牌4S店为依托,逐步完善品牌布局及产品结构,全面进军新能源汽车、报废汽车拆解再生资源循环再利用等领域,不断完善汽车全产业生态链。公司称,新能源汽车动力电池综合利用项目建设将会是未来的增长点之一。

  北交所股票还有补涨动能

  今天强势涨停的方盛股份也发布了股票交易异常波动公告,其上一交易日涨14.20%,最近2个有成交的交易日(3月15日、3月18日)以内收盘价涨幅偏离值累计达到44.16%。

  方盛股份的龙虎榜数据显示,上榜营业部席位全天成交8916.12万元,占当日总成交金额比例为43.2%。其中,买入金额为6018.28万元,卖出金额为2897.85万元,合计净买入3120.43万元。具体来看,华泰证券莱阳昌山路证券营业部、平安证券上海分公司分别买入3177.81万元、1230.06万元;国泰君安证券浙江余姚舜水南路营业部、长江证券上海文诚路证券营业部分别卖出828.45万元、622.37万元。

  威贸电子今天涨幅接近20%,成交金额1.11亿元。买一席位为华泰证券股份有限公司莱阳昌山路证券营业部,买入871.28万元;买五席位则是一家机构,买入327.79万元。

  威贸电子今天发布的投资者关系活动记录显示,公司于3月15日接受蜂巢基金、东北证券东吴证券等机构调研。公司表示,未来将持续推进和开发汽车领域的项目,与均胜集团、华域皮尔博格等优质客户展开进一步合作。例如,公司与均胜群英开发了许多项目,包含各类线束与注塑产品,终端客户包括名爵、大众ID系列、智己、奇瑞ICAR、马自达、通用、小鹏汇天等。同时公司也在积极推进汽车车灯项目,为奔驰、宝马、奥迪、大众等终端客户提供车灯线束产品。此外,公司与此前公告的某国内新能源龙头企业的合作,除了目前已有的订单项目外,也在洽谈一些新项目合作,希望未来能为营收作出贡献。在智能家电领域,公司将继续保持与大客户的深度合作,持续推进集成化、组件化策略,根据市场和客户需求及时提供相关产品及服务。公司还表示,在积极开展与国外专业商用咖啡机品牌的合作,产品涵盖复杂线束到塑胶配件等,希望未来能带来较大的增量。

  从3月以来的表现来看,总共有19只股票累计涨幅超过10%,其中7只累计涨幅超过20%。德众汽车以47.46%的涨幅居于榜首,朗鸿科技、三维股份、雅达股份、通易航天的累计涨幅均超过25%。

  申万宏源认为,本轮北证反弹弱于其他板块,有补涨动能。从折价率来看,北证去年大部分时间相对创业板的估值折让在55%上下,吸引力相对较大,而2023年10月底大涨后,北证相对创业板估值的折价率进入到区间震荡。本轮A股自2月6日反弹以来,北证明显跑输市场,相对创业板的折价率从9.4%回到了20%上方。其建议关注北证近期政策预期下的短期补涨机会:可关注AI、人形机器人主题板块中的低价低市盈率的公司,如骏创科技、苏轴股份等。从中期来看,仍然需要脚踏实地,关注今年景气方向,以及汽车的高景气延续、消费电子和海外家居产业链的边际改善等。

(来源于:查股网)
查股声明:此消息系转载自查股合作媒体,查股网登载此文出于传递更多信息之目的,并不意味着赞同其观点或证实其描述。文章内容仅供参考,不构成投资建议。投资者据此操作,风险自担。
有问题请联系 767871486@qq.com 商务合作广告联系 QQ:767871486
查股网以"免费 简单 客观 实用"为原则,致力于为广大股民提供最有价值和实用的股票数据作参考!
Copyright 2007-2023
www.chaguwang.cn 查股网