chaguwang.cn-查股网.中国
查股网.CN

主力资金流向&北向资金流向分析

 
沪深个股板块DDE历史数据查询:    
 

行业ETF风向标丨热点行业涣散,电力ETF半日整体小幅反弹

http://chaguwang.cn  12-05 13:11  查股网新闻中心

  每经记者 刘明涛    每经编辑 肖芮冬    

  今日,北证50单边上涨,预制菜板块领涨行业,不过目前市场没有追踪预制菜相关ETF。相较之下,电力ETF在整个行业ETF今日表现相对强势。

  消息面上,近期,国家能源局发布建议答复,提出将进一步增加绿证供给量,推动新能源更大规模参与市场,满足绿色能源电力消费需求。在答复中,国家能源局再一次明确了绿色消费对于推动绿色低碳转型重大意义。随着我国能源体系转型工作的持续推进,可再生能源消纳保障要求的边际趋严,绿色电力消费需求有望持续增长,在能源结构中的比例有望稳步提升。对于新能源运营企业来说,绿证交易需求的旺盛有助于新能源项目绿色环境价值的兑现,进一步提升项目的盈利能力。

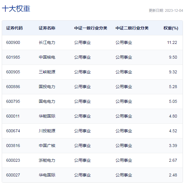
  点评:电力ETF(159611)今日上午表现相对较强,半日涨幅为0.69%,其规模达到22.89亿份,追踪的是中证全指电力公用事业指数。

  中证全指电力公用事业指数是中证全指行业指数之一,该指数为反映中证全指指数样本中不同行业公司证券的整体表现,为投资者提供分析工具,将中证全指指数样本按中证行业分类分为11个一级行业、35个二级行业、90余个三级行业及200余个四级行业,再以进入各一、二、三、四级行业的全部证券作为样本编制指数,形成中证全指行业指数。

  目前追踪该指出的ETF还有电力ETF南方(560580)、电力指数ETF(562350)、电力ETF基金(561700)以及电力ETF(561560)。

  中证全指电力公用事业指数重仓股

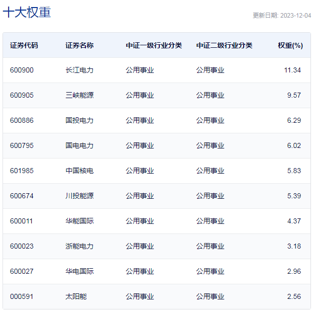
  点评:绿电ETF(562550)和绿色电力ETF(562960)今日上午均上涨了0.31%,表现尚可。不过两只ETF规模偏小,追踪的是中证绿色电力指数。追踪该指数的还有一只ETF为绿电50ETF(561170),上午收平,其规模为2.31亿份。

  中证绿色电力指数选取业务涉及光伏发电、风电、水电等绿色电力领域的上市公司证券作为样本,反映绿色电力领域上市公司证券的整体表现。成分股集中于业务涉及绿电的火电及水电上市企业,以中小市值公司为主,前十大权重股集中度较高。

  该指数兼具高分红率和高成长性,聚焦内循环,境内收入占比高,受海外环境波动影响较小。中长期业绩表现亮眼,大幅跑赢其他宽基,弱市中抗跌性凸显。

  中证绿色电力指数重仓股

  点评:绿电ETF(159669)上午勉强收红,涨幅为0.21%,该ETF追踪的是国证绿色电力指数

  国证绿色电力指数全面布局水电、核电、太阳能、风电及其他多个细分绿电行业。成分股主要聚焦绿电行业龙头股票。从指数涉及概念来看,绿色电力指数在新能源、碳中和等概念上的暴露较高。

  国证绿色电力指数重仓股

股市回暖,抄底炒股先开户!智能定投、条件单、个股雷达……送给你>>
有问题请联系 767871486@qq.com 商务合作广告联系 QQ:767871486
查股网以"免费 简单 客观 实用"为原则,致力于为广大股民提供最有价值和实用的股票数据作参考!
Copyright 2007-2023
www.chaguwang.cn 查股网