chaguwang.cn-查股网.中国
查股网.CN

大盘走势&资金动向&盘面分析

 
沪深个股板块DDE历史数据查询:    
 

大反弹行情来了?北证50底部放量大涨,6只个股创历史新高,机构也出手了

http://chaguwang.cn  05-08 22:50  查股网新闻中心

  原创:北证资讯

  今天北交所继续大涨,总共有6只个股股价创出上市以来新高;广咨国际、中纺标、云创数据接力曙光数创,涨幅均超过20%;北证50指数大涨近3%,除云创数据外,三元基因、创远新科、奥迪威、球冠电缆、苏轴股份等北证50成份股的涨幅也超过7%。

  量能方面,今天北交所成交额增至27.19亿元,再创16个月新高。盘后总共有5只个股登上了龙虎榜,其中中裕科技、方盛股份的买一席位均为机构,显示机构参与度正在增强。

  对于北A是否探明了底部,开启了反转行情,资深新三板评论人、北京南山投资创始人周运南认为,本周重中之重是要紧盯量能,如果本周量能能一直稳在20亿元以上,那么北A真正的一波大反弹行情就可能呼之即来。

  12只个股涨超10%

  今天北交所全天震荡拉升,一批个股再现暴涨行情。

  其中,广咨国际、中纺标均于午后放量拉升,双双封住涨停板,成交额分别为2168万元和4735万元。近期明星股之一云创数据今天继续发力,收盘再涨21.01%,成交额更是达到3.19亿元,该股5月以来累计涨65.29%,居沪、深、北三个交易所所有A股涨幅榜的第一位。广咨国际、中纺标则以39.72%、34.12%的月涨幅居于所有A股的第3位和第6位。

  除广咨国际、中纺标、云创数据外,北交所还有9只个股的涨幅超过10%,包括天纺标、华维设计、中设咨询、基康仪器、中科美菱等。Wind的统计显示,经过连续上涨之后,总共6只个股的今天股价创下历史新高,分别是迪尔化工、利通科技、基康仪器、中裕科技、雅达股份和阳明科技。在5月5日则有曙光数创、民士达、康普化学、鼎智科技、骏创科技5只明星个股的股价创出上市新高。

  值得一提的是,北证50指数大涨近2.95%,北证50成份股也相当活跃,三元基因、创远新科、奥迪威、球冠电缆、苏轴股份、邦德股份、同力股份、恒进感应、佳先股份等的涨幅均超过5%。

  北交所盘后公开信息显示,今天总共有5只个股登上了龙虎榜,其中中裕科技、方盛股份得到了机构的追捧,买一席位均为机构。其中,机构现身中裕科技的买方榜,买入553.17万元;方盛股份也获得机构吸筹732.75万元。

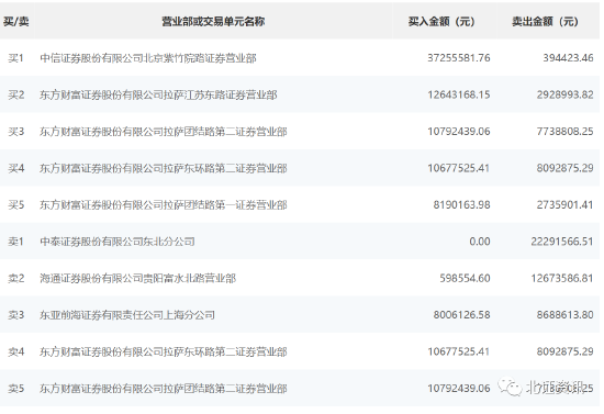
  广咨国际、中纺标、云创数据也现身龙虎榜。广咨国际的龙虎榜数据显示,上榜营业部席位全天成交1214.95万元,占当日总成交金额比例为56.05%。其中,买入金额为632.46万元,卖出金额为582.49万元,合计净买入49.97万元。具体来看,华泰证券长沙韶山北路证券营业部、东方财富证券拉萨东环路第二证券营业部分别买入256.02万元、115.84万元;光大证券象山丹河东路营业部、华福证券宁德分公司分别卖出243.17万元、92.01万元。

  云创数据则有4家营业部的买入额在1000万元以上,其得到了东方财富证券旗下营业部的集体追捧,除中信证券北京紫竹院路证券营业部买入3725.56万元外,东方财富证券旗下的拉萨江苏东路证券营业部、拉萨团结路第二证券营业部、拉萨东环路第二证券营业部的买入额均超过1000万元,东方财富拉萨团结路第一证券营业部也买入800多万元。中泰证券东北分公司、海通证券贵阳富水北路营业部作为卖一、卖二,分别抛售2229.16万元和1267.35万元。东方财富证券拉萨团结路第二证券营业部、拉萨东环路第二证券营业部也分别卖出809.29万元和773.88万元。

  北交所迎来大反弹行情?

  对于5月以来北交所延续红火行情,是否意味着北交所已经探明了底部,开启了反转行情?

  周运南表示,近期北交所个股普涨,呈现了难得的艳阳普照,之前相关群里对北A是怨声载道,近期又都喜气洋洋,盘后也有很多朋友在探讨,归纳起来包括:一是北A的底部放量,宣布大反弹的开始,底部探明;二是近期个股轮番上阵大行情导购市场情绪的大宣泄,短线筑顶,“不同的观点,也会代表不同的投资策略,更代表随后北A不同的走向,仁者见仁、智者见智。”

  在周运南看来,本周北交所的表现非常关键,重中之重是要紧盯量能:如果下周量能能一直稳在20亿元以上,那么北A真正的一波大反弹行情就可能呼之即来,“至少周一不能跌破20亿元;周二、周三不能跌破15亿元;周四、周五不能跌破10亿元,否则表明底部还未探明,还将继续摸底。”

  财经专栏作家、资深市场评论人朱邦凌认为,今天北交所成交27亿元,北证50属于底部放量大涨,行情应该有持续性。行情主线方面,类似A股市场的中特估行情。其认为,北交所的主线还是低估值绩优股。

  “北证指数底部放量是好事”,北交所市场资深人士、广东力量私募基金管理有限公司总经理朱为绎说,“从精选层开始,我们就坚持北交所战略配售的精品策略,最终挖到了星辰科技、德瑞锂电、康普化学和民士达等涨幅很大的股票,都是半年一倍甚至两倍收益。相比于沪深交易所三十多岁,北交所才一岁多,真是太小了,股票少,资金少,是一个非常小众的市场,但是只要努力挖掘,还是有不少牛股。”

  “今天的行情扫了一眼,感觉是中特估行情蔓延到北证了”,青波资本董事长习青青则认为,今天这种拉法主要是消息刺激,跟业绩没关系,“北证每次都是吃主板的情绪漫延,主板什么火了,就来北证找同板块位置低的标的。”

  习青青认为,北交所中线还是看好AI主线,不过需要等一等了。

有问题请联系 767871486@qq.com 商务合作广告联系 QQ:767871486
查股网以"免费 简单 客观 实用"为原则,致力于为广大股民提供最有价值和实用的股票数据作参考!
Copyright 2007-2023
www.chaguwang.cn 查股网