chaguwang.cn-查股网.中国
查股网.CN

大盘走势&资金动向&盘面分析

 
沪深个股板块DDE历史数据查询:    
 

首日振幅35%,北交所第118家公司来了!次新股频繁登上“龙虎榜”,机构再度现身!

http://chaguwang.cn  10-18 22:16  查股网新闻中心

  原创:北证资讯 

  10月18日,中科美菱在北交所上市,成为第118家北交所公司。与华岭股份一样,中科美菱此前以37天的时间“闪电”过会,成为北交所成立后首家上市的A股上市公司子公司。

  中科美菱全天振幅将近35%,相比该股“纠结”的走势,今日次新股硅烷科技、中纺标的表现相当抢眼。这2只次新股的“龙虎榜”显示,有机构出手买入,知名游资“拉萨天团”也再度出现。

  上市首日振幅近35%

  中科美菱今日登陆北交所,至此北交所公司合计118家。待华岭股份、夜光明、天纺标3家公司上市后,北交所公司将达121家。

  中科美菱上市首日走势震荡,开盘后一度跌破发行价,午后却出现拉升走势,最高曾触及17.29元,终盘收报16.38元,涨幅缩窄至2.37%。该股全天振幅为34.63%。

  (中科美菱今日走势图)

  资深新三板评论人、北京南山投资创始人周运南认为,今天中科美菱高开0.01元开盘,最低破发2.5%,最高涨8.06%,收涨2.38%,换手率50.68%,成交1.96亿元,首日整体表现正常。

  不过在周运南看来,中科美菱今天走势略显纠结,主要是体现在全天主要围绕发行价上下窄幅震荡,原因有多方面。

  其中,正向动能有:1、头顶37天过会、111天上市的北交所“保送生”光环;2、是长虹美菱子公司,为北交所设立后上市的首家上市公司子公司;3、可流通老股极少,仅有89.86万股;4、正好赶上当前大A医疗器械大涨风口。负向动能有:1、发行市盈率为24.79倍;2、网上打新配售率高达6.79%,创下北交所新高;3、半年报净利润下滑严重。

  “正因为有了上述四正三负的综合因素,所以导致投资者买卖都很纠结,只能选择箱体震荡,等待契机选择突破方向。”周运南分析道。

  根据资料,中科美菱这次公开发行2418.2734万股,超额配售选择权全额行使后为2781.0144万股。该股采用直接定价方式,发行价格为每股16元,发行市盈率为24.79倍。

  中科美菱主营业务以生物医疗低温存储设备的研发、生产和销售为核心,布局生命科学、智慧冷链、家庭健康三大业务板块。公司主要产品包括低温存储设备、超低温冷冻存储设备等生命科学类产品,以及智慧冷链项目、家庭健康产品,为客户提供智能生物样本库、智慧疫苗接种、智能血液安全、自动化冷库、冷链安全、实验室安全存储、液氮物联等多种解决方案。据介绍,目前,公司产品涵盖-196℃至8℃全温区,已广泛应用于医疗系统、血液系统、疾控系统、卫生系统、高校科研机构、生物医药企业,以及基因工程、生命科学等领域。公司是一家国家级专精特新“小巨人”企业。

  公司这次公开发行募集资金将投入医疗存储设备建设项目、菱安高端医疗器械项目、研发中心建设项目及销售渠道建设项目,计划使用募集资金合计5.03亿元。

  值得一提的是,中科美菱的战略配售获得10家机构的认购,公募基金南方基金管理股份有限公司的南方北交所精选两年定期开放混合型发起式证券投资基金现身其中。

  次新股活跃

  今日北交所个股上涨居多,次新股走势抢眼。

  被称为“北交所询价第一股”的硅烷科技,今日连续第三个交易日走强,该股午后攀高一度大涨逾23%,股价创上市以来新高,全天涨幅为19.5%,领涨北交所个股。其收盘报19.06元,较发行价(5.66元)累计涨幅为2.37倍。该股今日成交总额超过3亿元。

  次新股中纺标今日午后也出现走高,收盘涨幅超过了12%;昆工科技、新芝生物分别涨超3%。

  北交所官网披露的数据显示,近期次新股频繁出现在“龙虎榜”。今日大涨的硅烷科技再度上榜,且有机构出手买入。此前,昨日的新芝生物买入榜出现多个机构席位。

  自9月28日上市后,硅烷科技次日即登上了“龙虎榜”,此后又于9月30日、10月10日、10月12日多次出现在“龙虎榜”,受到游资追捧。

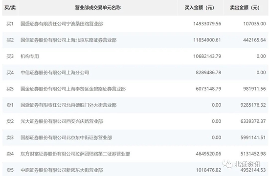
  硅烷科技今日的买一是国盛证券有限责任公司宁波桑田路营业部,买二是国信证券股份有限公司上海北京东路证券营业部,买入金额分别超过1000万元;买三出现了机构专用,合计买入金额也超过了1000万元,而卖出金额为0。被称为“拉萨天团”的东方财富证券股份有限公司拉萨团结路第二证券营业部今日也现身卖出榜,买入金额为464万元,卖出513万元。

  在周运南看来,硅烷科技今日的“龙虎榜”相比其之前要漂亮多了:1、机构专用现身买入榜三“大哥”;2、买入前三均超1000万元;3、大游资营业部现身。

  次新股亿能电力今日第三次出现在“龙虎榜”上,东方财富证券股份有限公司拉萨北京中路证券营业部为炒作主力;“拉萨天团”再度现身,今日位居买三,合计买入175万元。

  中纺标今日同样登上“龙虎榜”,“拉萨天团”位居买一,合计买入211万元,卖出34万元。

有问题请联系 767871486@qq.com 商务合作广告联系 QQ:767871486
查股网以"免费 简单 客观 实用"为原则,致力于为广大股民提供最有价值和实用的股票数据作参考!
Copyright 2007-2021
www.chaguwang.cn 查股网