chaguwang.cn-查股网.中国
查股网.CN

大盘走势&资金动向&盘面分析

 
沪深个股板块DDE历史数据查询:    
 

什么信号?银行ETF融资余额创新高,上市银行董监高增持不断

http://chaguwang.cn  07-18 20:33  查股网新闻中心

  据中国证券报记者统计,7月以来,共有6家A股上市银行董监高出手增持自家银行股票,47人合计买入308.27万股股票。

  已有部分资金在抢筹银行股。7月13日至15日的3个交易日,百亿规模基金、A股规模最大的银行主题ETF “银行ETF(512800)”连续获资金净流入,合计金额超6亿元。与此同时,截至7月15日,银行ETF(512800)融资余额升至11.87亿元,刷新上市以来最高值。

  业内人士认为,银行板块基本面稳健,当下银行股配置窗口期再现,看好估值修复行情。

  6家银行董监高出手增持

  进入7月,上市银行董监高们频频增持自家银行股票。

  来源:Wind

  Wind数据显示,截至7月17日(以变动截止日期为基准),7月以来,共有6家A股上市银行的董监高出手增持,共涉及47人。从银行类型来看,除浙商银行外,其余5家均为城商行或农商行。从地域来看,除齐鲁银行外,其余5家均位于江浙区域。

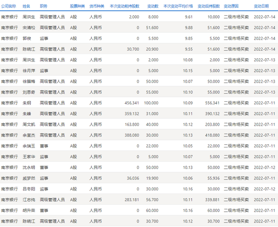
  具体来看,47人合计增持308.27万股。其中,南京银行净买入股份数最多,达117.46万股。目前,南京银行共有18位董监高增持,包括该行董事长、监事长、副行长、独立董事等。

  来源:上交所

  值得一提的是,以上18位董监高中有12位在7月11日之前不持有该行股票,包括南京银行董事长胡升荣、监事长吕冬阳、副行长陈晓江等。

  7月10日晚,南京银行称,该行董监高合计20人计划自7月11日起3个月内以自有资金增持不少于845万元公司A股股份,拟增持公司股份价格不设区间。截至7月12日,增持主体已累计增持480.87万元。

  增持股份数量排名第二的是紫金银行。7月6日-14日,紫金银行董事长赵远宽、行长史文雄、董事会秘书吴飞分别增持1.35万股、8.53万股、4.49万股。此前,紫金银行曾发布稳定股价方案,赵远宽、史文雄、吴飞均在增持主体名单中。7月15日晚间,紫金银行宣布,该行稳定股价方案已实施完毕。

  还有上市银行高管增持在路上。日前,苏农银行宣布,该行董事长及部分董事、监事计划自7月13日起6个月增持不少于200万元公司股份。

  银行ETF融资余额创历史新高

  近期,银行板块也吸引了部分资金和投资者的青睐。在上周银行板块出现调整之际,有大量资金趁机入场。

  Wind数据显示,7月13日至15日的3个交易日,银行主题ETF “银行ETF(512800)”连续获资金净流入,合计金额超6亿元。截至7月15日,该基金份额达973544万份,创下历史新高。

  来源:Wind

  值得一提的是,嗅觉敏锐的杠杆资金也大手笔增仓。7月15日,银行ETF(512800)融资余额升至11.87亿元,刷新上市以来最高值。市场人士分析称,这可能意味着融资资金对银行股后市看好,加大力度“埋伏”银行板块。

  来源:上交所

  在业内人士看来,银行板块“吸金”的原因在于基本面稳健,中期业绩向好为银行股反弹提供了催化剂。

  截至目前,已有6家中小银行公布了半年度业绩快报。数据显示,6家银行今年上半年净利润同比增速均在20%以上。同时,营收也取得较快增长,资产质量持续改善。

  知名基金经理丘栋荣在其管理的中庚价值领航混合型证券投资基金2022年二季度报告(7月15日披露)中称,该基金重点关注的投资方向之一便是大盘价值股中的金融、地产等。

  “我们看好与制造业产业链相关、服务于实体经济、有独特竞争优势的区域性银行股,这类银行所处区域经济发达、产业结构好、客户相对多元化,且区域范围内占有率仍有提升空间,因此呈现出业务简单稳健、基本面风险较小、估值极低但成长性较高的特征。”丘栋荣指出。

  压力释放 看好优质银行

  7月18日,银行板块出现止跌企稳迹象,Wind银行指数涨超1%。其中,江苏银行领涨,涨超4.41%;青农银行、招商银行青岛银行西安银行的涨幅也超2%。

  业内分析人士认为,短期看,市场担忧情绪或对银行板块形成压力;中长期看,预计风险有望平稳化解,整体影响可控。总体来看,银行的基本面没受到实质性影响。 

  “结合近期多家银行披露的半年度业绩快报,我们认为银行板块依然处于‘拨备释放-业绩高增-估值修复’的长期主线。目前我们再次站到了‘稳增长政策+疫后修复’的起点位置。”东北证券分析师陈玉卢表示。

  兴业证券研报指出,目前国内疫情形势逐步明朗,居民及企业端生产经营及融资需求有望快速恢复。近期稳增长政策力度加大,政策自上而下推动信贷加大投放,支持实体经济发展。

有问题请联系 767871486@qq.com 商务合作广告联系 QQ:767871486
查股网以"免费 简单 客观 实用"为原则,致力于为广大股民提供最有价值和实用的股票数据作参考!
Copyright 2007-2021
www.chaguwang.cn 查股网