chaguwang.cn-查股网.中国
查股网.CN

大盘走势&资金动向&盘面分析

 
沪深个股板块DDE历史数据查询:    
 

MSCI成分股调整了!千亿白马股深跌后重回外资买入菜单!开市怎么走

http://chaguwang.cn  02-10 08:34  查股网新闻中心

  文 汪友若 

  北京时间2月10日晨,国际指数编制公司MSCI公布了其2022年2月的指数季度调整结果,本次调整结果将于2022年2月28日收盘后生效。

  本次调整中,MSCI全球标准指数新增21只个股,其中包括格力电器等9只A股标的;同时移出11只个股,无A股标的。MSCI新兴市场指数新增成分股中全市值前三大的股票为格力电器、三峡能源天合光能

  A股标的涉及这些调整

  本次季度调整公布了 MSCI全球标准、MSCI全球小盘、MSCI全球微小盘等主要指数系列的新增、剔除名单。MSCI此次季度评审不涉及A股纳入因子变化,同时,按照惯例,根据沪深股通调整,MSCI对于部分A股股票仍有调进调出。

  具体来看,MSCI全球标准指数新增21只个股,剔除11只个股,本次全球指数中市值最大的新纳入个股包括 Grab Holdings(新加坡)、 Aercap Holdings NV(荷兰)和Kimco Realty Corp(美股)。MSCI新兴市场指数新增成分股中全市值前三大的股票为格力电器、三峡能源和天合光能。

  具体到MSCI中国A股指数,新增格力电器、三峡能源、华润微等9只标的,无剔除A股标的。

  MSCI中国A股指数新增标的

  除全球指数系列外,MSCI中国全股票指数以及MSCI中国A股在岸指数的成分股名单也有所调整,不过,跟踪上述两只指数的海外资金相对较少,调整或不会带来显著的资金进出。

  MSCI中国A股在岸指数增加成分股4只,剔除3只个股,以总市值计中国移动中伟股份东方生物为最大的3只新增个股。MSCI中国A股在岸小盘股指数本次新增2只标的,剔除3只标的。

  中国A股在岸指数

  此外MSCI中国全股票指数中新增5只个股,分别为伯特利、中伟股份、格力电器、东方生物和陆金所(ADR);剔除5只股票,分别为声网(ADR)、世纪互联(ADR)、中国有赞(港股)、宇华教育(港股)以及ST国医(维权)。以总市值计格力电器、中伟股份和陆金所(ADR)为最大的3只新增个股;MSCI中国全股票小盘指数中新增4只个股,剔除3只个股。

  格力电器重回MSCI

  值得注意的是,千亿巨头白马股格力电器在本次季度调整中重返MSCI指数。

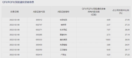
  此前,2020年12月,MSCI 公告称,将格力电器从MSCI标准指数和大型股系列剔除,12月17日起生效。MSCI公告未提供剔除原因。不过深圳证券交易所数据显示,彼时QFII、RQFII和深股通投资者持有格力电器A股占总股本的比例升至28.07%。香港交易所也曾公告,因格力电器总境外持股比例超过28%,2020年12月14日起,深港通暂停接受该股的买盘,卖盘仍会被接受。

  深交所官网数据显示,截至2月8日,QFII、RQFII和深股通投资者持有A股比例超出预警线的个股共有8只,美的集团仍然在列,此前美的集团也曾因相同原因被剔除MSCI指数。

  按照历史经验,A股标的外资持股比例达到上限后,因不再具有可投资空间被各大国际指数公司剔除。之后指数公司将对剔除标的观察12个月,若12个月后重新满足条件,则会考虑再次将其重新纳入。

  开年以来外资持续流入

  2022年开年以来,虽然A股一度出现不小的调整,但外资整体仍延续了净流入的趋势。

  Wind数据显示,北向资金1月扫货167.75亿元,其中沪股通净流入超185亿元,深股通净流出18亿元。其中,1月前三周的外资净流入超340亿元,但在春节前最后两个交易日出现单日超百亿元的大幅流出。这一方面源于彼时美联储表态偏鹰,海外资金收缩新兴市场头寸,另一方面部分活跃资金选择在长假前卖出以规避市场不确定性。

  农历虎年开市首日,北向资金便恢复净买入,当日净买入超50亿元,2月以来3个交易日合计净买入52.19亿元。

  业内人士认为,由于疫情防控得当以及经济前景向好,中国等新兴市场资产正在逐步获得资金青睐。当前A股估值优势正在逐步显现,外资长期流入A股市场态势不改。

  高盛集团股票策略分析师团队表示,国内市场开放、改革势头强劲,可能使A股市场对于国际投资者而言更具投资价值、更加可及。兴业证券也认为,包括资本市场开放深化、A股更高的估值性价比、相对美股具有独立性、外资在A股占比仍偏低在内的多重因素仍将驱动北向资金持续流入A股。

  摩根士丹利中国首席股票策略师王滢表示,当前投资中国资产的机会难得。2021年时,摩根士丹利建议超配A股,即在整体中国投资组合中尽量把更多资金分配给A股。而进入2022年,该策略仍然有效。

有问题请联系 767871486@qq.com 商务合作广告联系 QQ:767871486
查股网以"免费 简单 客观 实用"为原则,致力于为广大股民提供最有价值和实用的股票数据作参考!
Copyright 2007-2021
www.chaguwang.cn 查股网