chaguwang.cn-查股网.中国
查股网.CN

大盘走势&资金动向&盘面分析

 
沪深个股板块DDE历史数据查询:    
 

突发!惊人一幕出现:"宁王"被砸盘,茅台猛拉,多股异动!外资一周狂买近500亿!

http://chaguwang.cn  12-10 16:24  查股网新闻中心

  原标题:突发!惊人一幕出现:“宁王”被砸盘,茅台猛拉,多股异动!外资一周狂买近500亿!张同学彻底火了:却被消防 、交警盯上!

  周五,收盘了。大家周末愉快。

  来看看今天市场上有哪些值得关注的事情。

  A股尾盘多股发生异动

  10日收盘前,多股尾盘股价发生异动。

  宁王尾盘跳水,收盘前一度涨超2%,结果最后跳水,涨幅只剩下不到1%。

  而贵州茅台则是另一番景象。

  上证50尾盘拉升、创业板跳水

  还有这些股价尾盘也发生了异动。

  为什么会出现这样的情况?基金君注意到,午盘就有财经大V提醒过。

  11月26日,11月26日晚间,中证指数有限公司网站发布公告称,根据指数规则,经指数专家委员会审议,中证指数有限公司决定调整沪深300、中证500、上证50、科创50等指数样本,自2021年12月10日收市后生效。

  此次调整中,不少机构重仓股被纳入,另外也有一些知名公司被调出指数。Wind数据显示,当前跟踪沪深300、中证500、上证50、科创50等核心指数的被动指数基金规模合计超过5500亿,这就意味着此次指数的样本股调整将影响超过5500多亿资金的配置。

  其中沪深300指数更换28只样本,金科股份国元证券顺鑫农业等被调出,东方盛虹华峰化学晶澳科技天齐锂业等被调入。

  值得注意的是,宁德时代这次是调入名单,但是尾盘被砸,可能是套利资金在作怪。

  沪深300指数样本调整名单:

  中证500指数则更换了50只样本,农产品海王生物鄂武商A等股票被调出的同时,金科股份、振华科技越秀金控新进入。

  中证500指数样本调整名单:

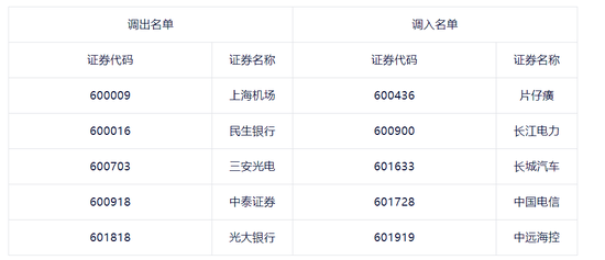
  本次样本调整中,上证50指数更换5只股票,片仔癀长江电力长城汽车中国电信中远海控进入指数,上海机场民生银行三安光电中泰证券光大银行被调出指数。

  上证50指数样本调整名单:

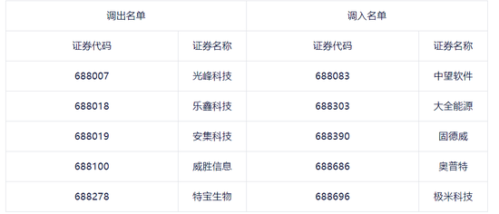
  科创50指数替换5只股票,中望软件大全能源等股票进入指数,光峰科技乐鑫科技等个股被调出指数。

  科创50指数样本调整名单:

  值得注意的是,下周五尾盘可能还会再来一波尾盘异动,下一次是富时罗素的调整,大家可以观察一下。

  北向资金爆买近500亿

  截止收盘,沪指跌0.18%,深成指跌0.24%,创业板指涨0.22%。本周权重股偏强,沪指、深成指累计涨幅分别为1.63%、1.47%,上证50指数大涨4.1%。北向资金全天净买入超90亿元,为连续第8日净买入,本周累计净买入达488亿元,创陆股通开通以来新高。

  10日,沪指低开低走,盘中弱势窄幅震荡;深成指小幅走低,创业板指午后拉升走高,一度涨近1%;两市板块走势分化,元宇宙、锂电池、光伏概念等题材表现活跃,金融、周期等板块走势疲弱;两市成交额已连续36个交易日突破万亿,北向资金今日仍大举净流入,全日净买入超90亿元。

  截至收盘,沪指跌0.18%报3666.35点,深成指跌0.24%报15111.56点,创业板指涨0.22%报3466.8点。两市合计成交12354亿元,北向资金净买入91.48亿元。

  盐湖提锂板块再度爆发,中铝国际东华科技等股封涨停板,2000亿龙头盐湖股份盘中一度涨停;

  而港股的中铝国际更是夸张。直接飙涨70%、消息面上,12月进入旺季备货期后,叠加青海减产(降温+限电),锂盐加工厂集中检修(原材料为锂精矿),供应变得紧张,仅仅11月29日至12月3日这一周,电池级碳酸锂价格上涨了10000元/吨,电池级氢氧化锂上涨了4000元/吨。

  联想控股发声:29%股权转让合法,国有资产未流失

  11月7日起,司马南在自媒体平台上陆续更新关于联想的视频节目,深扒联想的招股书、财报,涉及到联想高管天价年薪问题、资不抵债问题、资产流失问题、信息安全问题、股东利益侵蚀等问题。

  关于资产流失的问题,司马南花了3期内容讲述,中科院是如何从100%的控股权最终变成了29.5%,失去一票否决权的,以及相关股权方背后的人物关系。特别是中科院以27.55亿元转让联想控股29% 控股权的问题,是否是低于当时市价,造成的十几亿元的国有资产流失。

  12月10日消息,联想控股今天发布声明称,经向中国科学院控股有限公司确认,2009年转让联想控股股权,严格按照国有资产产权交易相关要求进行了审计、资产评估和备案。并未造成国有资产流失。

  以下为声明原文:

  经向中国科学院控股有限公司确认了以下事实。

  2004年8月,按照党中央关于“大力发展国有资本、集体资本和非公有资本等参股的混合所有制经济,实现投资主体多元化”的要求,为加快高技术产业规模化发展,中科院做出加快院所投资企业股权社会化改革的决定。

  2009年,按照企业国有资产交易相关规定,中国科学院控股有限公司通过北京产权交易所公开挂牌交易,转让了联想控股29%股权。本次转让,严格按照国有资产产权交易相关要求进行了审计、资产评估和备案。

  经专业机构认定,联想控股归属于母公司所有者权益账面值为77.2亿元,评估值为92.6亿元。本次交易联想控股归属于母公司所有者权益溢价至95亿元,对应的29%股权交易价格为27.55亿元。

  本次股权转让,实现了国有资产的保值增值,历次中央巡视和国家审计署审计均未对此提出过任何异议。

  张同学火了

  却被交警、消防“点名”

  起床、做饭、喂狗、

  养鸡、嘎肉……

  近日,

  一个叫“张同学”的短视频博主火了。

  被称为“糙版李子柒”的他,

  用流水账式视频一周涨粉617万,

  单条视频播放超2亿,

  引发大批网友模仿。

  12月8日,在短视频平台爆火、被称为“糙版李子柒”的张同学,因视频中的多个危险操作,被中国消防点名提醒。

  12月8日晚,中国消防列举了张同学视频中的违规行为。其中最显眼的,就是这个出镜率极高的插线板。

  在张同学的视频中,烧水用它、做饭用它,刮胡刀充电也用它,还常年不拔……但插线板上已经贴了多段胶布,还有一个插孔处明显被烧黑!

  中国消防提示:

  变黑的插线板已经“超龄”,

  有起火和触电双重危险,

  要立即停止使用,

  万万不可麻痹大意!

  12月9日,

  有网友表示,

  看到张同学的三轮车,

  第一反应就是违反交规了”

  当晚,张同学的三轮车果然引起警方的注意。

  对于张同学农用三轮车载人的行为,辽宁交警提醒:三轮车结构简单,稳定性差,机械强度低,驾驶不慎,就容易翻车,而在车厢载人的情况下,一旦发生交通事故,乘坐人往往会被甩出车外,遭受非常严重的伤害。

  此外,在视频中,张同学还多次骑摩托车未佩戴头盔。交警表示,头部是人体最脆弱也是最容易受到致命伤害的部位。当事故发生时,头盔可吸收大部分撞击力,起到缓冲、减震的保护作用,可使受伤者的比例下降70%,死亡率下降40%。

  头盔对于电动车驾驶者来说,

  相当于轿车驾驶员所系的安全带,

  是骑行者遇到危险时的最后一道防线。

有问题请联系 767871486@qq.com 商务合作广告联系 QQ:767871486
查股网以"免费 简单 客观 实用"为原则,致力于为广大股民提供最有价值和实用的股票数据作参考!
Copyright 2007-2021
www.chaguwang.cn 查股网