chaguwang.cn-查股网.中国
查股网.CN

大盘走势&资金动向&盘面分析

 
沪深个股板块DDE历史数据查询:    
 

北交所开市第二日:个股分化加剧,银河证券营业部成买方主力!

http://chaguwang.cn  11-16 21:32  查股网新闻中心

  北交所开市第二日:个股分化加剧,银河证券营业部成买方主力!专家:投资北交所应把握这两大原则…

  原创 证券时报 钟恬 

  11月16日是北交所开市第二个交易日,北交所股票分化加剧:凯添燃气、志晟信息分别涨16.47%、12.71%,大地电气、中设咨询、德瑞锂电等则跌幅超过10%。志晟信息、同心传动、大地电气等5股现身龙虎榜,有机构、营业部获利了结,而银河证券旗下多家营业部仍大幅加仓,大手笔买入志晟信息超过1000万元,除北交所股票外,还加仓多只新三板股票。

  华鑫证券认为,相比主板,北交所企业的两级分化更为严重,随着北交所开市,预计优质公司将享受流动性带来的估值溢价,建议结合工信部“专精特新小巨人”清单寻找北交所相关投资标的。

  银河系营业部成买方主力

  北交所开市进入第二天,北交所股票盘面上出现调整,个股分化加剧,成交额缩减。

  具体来看,7只股票录得上涨,其中凯添燃气大涨16.47%领跑,志晟信息的涨幅也达到12.71%,森萱医药涨9.17%。而大地电气、中设咨询、德瑞锂电等16只股票出现明显调整,跌幅均超过10%。

  成交额方面,今日北交所股票总成交额为44.5亿元,贝特瑞成交额最高,达3.68亿元,同心传动、志晟信息居第二、三位,成交额分别为2.88亿元、2.31亿元,另外还有11只股成交额超过1亿元。15只股票换手率超过10%,其中同心传动、志晟信息的单日换手率超过40%。

  目前贝特瑞的总市值最高,为844.52亿元;连城数控居第二位,为256.29亿元。吉林碳谷、长虹能源的市值也超百亿元。

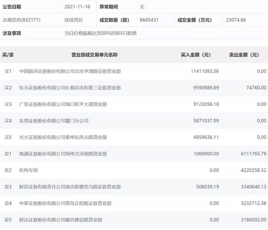
  北交所盘后公开信息显示,志晟信息、同心传动、大地电气等5股登上了龙虎榜。从统计数据来看,今天龙虎榜主要是券商营业部在博弈,仅有志晟信息的卖方榜上出现一家机构,卖出422.03万元,而银河系多家营业部成为买入主力。

  其中,银河证券股份有限公司北京学清路证券营业部大举买入志晟信息1141.11万元,占其今天成交金额23074.66万元的4.95%;银河证券股份有限公司郑州南阳路证券营业部也现身大地电气的买三席位,吸纳了288万元;银河证券股份有限公司台州银座北街证券营业部也加仓了晶赛科技,成交362.60万元。另一方面,银河证券股份有限公司北京望京证券营业部卖出同心传动450.81万元。

  值得一提的是,除了三只北交所股票,银河证券旗下营业部对其他新三板股票也情有独钟。其中,银河证券股份有限公司广州华夏路证券营业部买入基础层公司轩辕网络3.9万元;银河证券股份有限公司广州华夏路证券营业部和银河证券股份有限公司广州华夏路证券营业部则买入了两家处于摘牌整理期的公司,分别为摘牌童石、摘牌康家,交易金额为1.21万元和0.25万元。

  此外,除银河证券旗下营业部外,还有其他券商营业部也表现活跃,例如,中信证券华南股份有限公司广州宸悦路证券营业部、中信证券股份有限公司上海东方路证券营业部合计买入大地电气829.35万元;东方财富证券股份有限公司拉萨北京中路营业部、东方财富证券股份有限公司拉萨东环路第一证券营业部合计买入同心传动829.35万元。

  寻找优质投资标的

  “很满意,这才是我们所希望的新三板和北交所。”对于北交所两个交易日的走势,资深新三板专家、中国社会科学院管理学博士程晓明这样评价。

  对于北交所今天出现调整行情,程晓明认为,主要是精选层平移过来的股票跌得多,这也正常,因为它们在精选层的时候一直有交易,市场对这些股票已经定价,前期涨幅也不小了,所以有些投资人获利了结也是正常的,“因为相较北交所设立,很难想象短期之内还有更大的利好出来,所以有些人获利了结也没什么奇怪的。”

  程晓明表示,昨天涨幅大的其实都是新股,这些股票从创新层直接到北交所,没有在精选层挂牌,所以这些股票交易还没有活跃过,还没有得到市场定价的这个过程,“它们是昨天直接到了北交所后才真正形成了市场定价,就没有精选层这个阶段,相当于补课吧,所以涨幅比较大都是很正常。”

  至于价格的走势,程晓明认为短期之内不是最重要的,更应该关注的是交易量。“并不是说交易越活跃越好,只是因为新三板以前流动性实在是太差,所以我们才呼吁交易的活跃度,因为要帮企业融资的话,如果交易不活跃的话,怎么解决定价问题呢?”

  桂浩明则提醒,“北交所放大了收益和风险,一旦做错,很容易被套,大家可以参与北交所的打新,但是交易还是要更谨慎些!”

  在华鑫证券分析师严凯文、董冰华看来,相较于沪深市场,北交所的公司规模往往更小,但其中仍然存在为数不少的优质企业。作为服务创新型中小企业的阵地,北交所中的优质上市企业往往呈现“专精特新”的特点,可以结合工信部“专精特新小巨人”清单寻找北交所相关投资标的。其认为,北交所有两个基本的投资原则:

  一,相对于沪深A股而言,北交所企业大多处于企业生命周期的初创期和成长期,因而相对沪深主板,投资北交所的不确定性要高得多。北交所内大部分公司,都不具备所谓的“护城河”、确定的“竞争格局”、可线性预测的现金流。由于北交所企业高度的不确定性,主流的估值方法或难以判断北交所公司的内在价值。投资者投资北交所公司时,必须谨记“用发展的眼光看问题”,在长久期的预期下,边际变化的影响效果会被放大。另外,在投资长跑中,拥有优秀管理层的公司往往能更快跑到终点。

  二,重点关注高景气度产业,如半导体、碳中和等长赛道,在产业链上下游拓展相关投资标的。北交所企业以“专精特新”为主要特点,有一批在某细分领域深耕的优秀制造业公司。视角拉远来看,其所在的细分行业往往是某一产业链的部分环节,也将受益于长赛道的类指数级别发展。

有问题请联系 767871486@qq.com 商务合作广告联系 QQ:767871486
查股网以"免费 简单 客观 实用"为原则,致力于为广大股民提供最有价值和实用的股票数据作参考!
Copyright 2007-2021
www.chaguwang.cn 查股网