chaguwang.cn-查股网.中国
查股网.CN

大盘资讯&行情走势分析&每日复盘

 
沪深个股板块DDE历史数据查询:    
 

科创50成份年内首调 这一次有哪些“新面孔”?

http://chaguwang.cn  03-14 20:42  查股网新闻中心

  原标题:科创50成份年内首调,这一次有哪些“新面孔”?

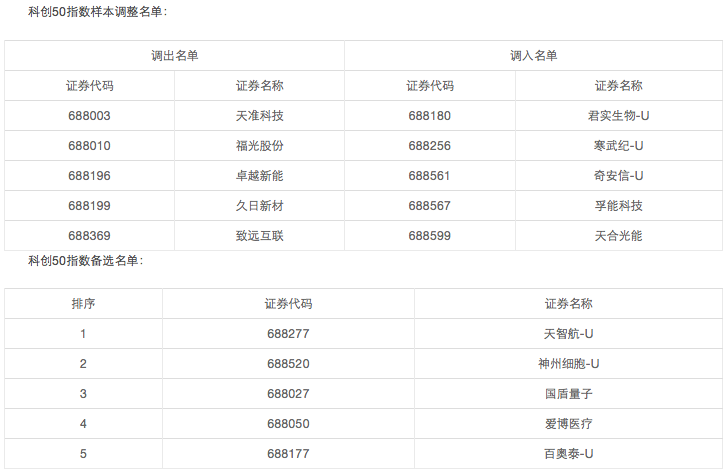
  科创50指数成份股又迎来一次季度调整,于3月15日正式生效。

  此次调整比例为10%,天准科技福光股份卓越新能久日新材致远互联被调出,君实生物-U、寒武纪-U、奇安信-U、孚能科技天合光能获调入。

  在业内人士看来,科创50成份股调整与市值变迁的背后与业绩增速的变化密不可分,资金喜欢追逐景气度趋势良好的标的。结合科创主题权重结构看,此次调整首次纳入节能环保与新能源汽车产业标的,科创50主题覆盖度进一步提升,指数科创代表性继续优化。

  科创50指数的不断更新迭代有何影响?有业内观点认为,有望持续提升科创50指数的质量和表现,科创50ETF的投资价值也将愈发凸显。

  成份股市值中枢上修

  科创50指数的样本每季度调整一次,样本调整实施时间为每年3月、6月、9月和12月的第二个星期五的下一交易日,每次调整数量比例原则上不超过10%。

  今年2月26日,上海证券交易所(下称“上交所”)公告称,3月15日起,对科创50等指数的样本进行调整,5只股票被调出,5只股票被调入,另有5只股票备选。

  科创50指数使用国际通行的指数编制方法,采用市值规模和流动性指标为筛选标准。新股计入时间上,现阶段,科创板新上市证券满6个月后计入样本空间,待上市满12个月的证券达到100只至150只后调整为上市满12个月后计入;同时,针对上市以来日均总市值排名在科创板市场前3位和前5位的证券设置差异化的计入时间。

  以此次调入的标的看,上市时间均达到6个月以上,同时截至3月14日的市值中位数为612.15亿元,远高于调出股票的市值中位数44.89亿元。

  在国盛证券策略团队看来,此次科创50指数成份股调整主要体现三大看点:其一,结合科创主题权重结构看,本次调整首次纳入节能环保与新能源汽车产业标的,科创50主题覆盖度进一步提升,指数科创代表性继续优化。

  其二,结合成份股市值规模分布看,相比上季度,本季度成份股市值中枢继续上修,百亿及以上市值规模的成份股占比由70%增至82%,科创50蓝筹化特征逐步凸显,不断夯实科创板“压舱石”的重任。

  其三,结合成份股估值水平分布看,估值中枢进一步向50倍~100倍区间集中,超100倍PE估值的成份股占比由上季度的36%降至28%,估值结构进一步向合理估值区间回归。

  具体从调入和调出股票自去年四季度至今的市值变化来看,调出个股涨跌幅中位数为-22.03%,而调入个股涨跌幅中位数为6.95%。

  天风证券策略团队认为,这种市值的变迁和业绩趋势密不可分:从2020年年报来看,调出个股去年四季度业绩增速中位数为8.29%,且无一个股业绩增速超过30%、三只个股业绩增速跌幅扩大;而调入个股同期业绩增速中位数为33.61%,多数个股业绩增速正在逐季改善或者处在较高位置。这表明,对于科创板标的,资金仍然喜欢追逐景气度趋势良好的标的。

  有何影响?

  去年7月22日收盘后,上交所首次发布科创50指数历史行情,并于7月23日起正式发布实时行情。

  自7月23日至今,科创50指数整体呈现出震荡下行的走势,累计下跌15.76%。就在3月8日至3月12日这周,科创50指数累计下跌5.15%。

  “全球视角下,同期主要市场指数涨跌互现,科创50指数跌幅居前。”国盛证券策略团队表示,对标国内大盘,科创板相对收益下跌,截至3月12日收盘,科创50指数/上证综指降至0.37;对标海外科技创新企业云集的纳斯达克市场,截至3月12日收盘,科创50指数/纳斯达克指小幅降至0.09。

  从估值角度来看,截至3月12日收盘,科创50指数市盈率(PE,TTM)为67倍,市净率(PB,LF)为6.49倍;相对估值角度而言,科创50相对大盘估值溢价下降,截至3月12日收盘,科创50指数/上证综指的PE、PB相对估值均为4.21。

  兴业证券策略王德伦团队认为,科创50指数表现相对弱势,一方面与其密集的行业分布有关。科创50指数成立初期可选样本空间有限,因此权重股集中在半导体行业且龙头个股占比极大,指数风格与年初热门的消费成长板块并不完全相似,相对表现偏弱;另一方面,指数内的部分成份股对于指数表现也有所拖累。

  “伴随着优质企业不断加速登陆科创板,许多大市值、高增长、近期上市的好公司将被纳入科创50指数。科创50指数的不断更新迭代,有望持续提升科创50指数的质量和表现,科创50ETF的投资价值也将愈发凸显。”王德伦团队称。

  根据Wind资讯数据,以此次科创50指数成份股调整后的2020年度业绩情况来看,科创50指数成份股的净利润同比增幅中位数为43.14%(高于调整前的29.99%),有34家公司的净利润同比增长,增幅在10%以上的有32家(调整前为31家),50%以上的有21家(调整前为19家),100%以上的有9家(与调整前持平)。

  在科创50指数推出之后,相关的ETF产品也相继推出。2020年9月份,科创板50ETF首批4只产品获批,分别为华夏上证科创板50ETF、易方达上证科创板50ETF、工银瑞信上证科创板50ETF、华泰柏瑞上证科创板50ETF,目前规模分别为124.58亿元、65.18亿元、49.21亿元、49.84亿元。

  2021年1月27日,首只境外上市的科创板ETF在纽约证券交易所挂牌上市;南方东英科创板50指数ETF和博时香港科创50ETF分别于2月10日和2月18日在港交所上市。据第一财经获悉,日本大和资管推出的日本市场首只科创50ETF也计划将于4月8日在日本证券交易所正式上市交易,并有数家海外大型投资机构正在洽谈中。

有问题请联系 767871486@qq.com 商务合作广告联系 QQ:767871486
查股网以"免费 简单 客观 实用"为原则,致力于为广大股民提供最有价值和实用的股票数据作参考!
Copyright 2007-2021
www.chaguwang.cn 查股网